EasyManua.ls Logo

FICEP 32292 - Page 135

Default Icon
226 pages
Print Icon
To Next Page IconTo Next Page
To Next Page IconTo Next Page
To Previous Page IconTo Previous Page
To Previous Page IconTo Previous Page
Loading...
SAFETY EQUIPMENT AND REGULATIONS
FICEP
1001 DFB
Drilling & Sawing Line
Page 1-7
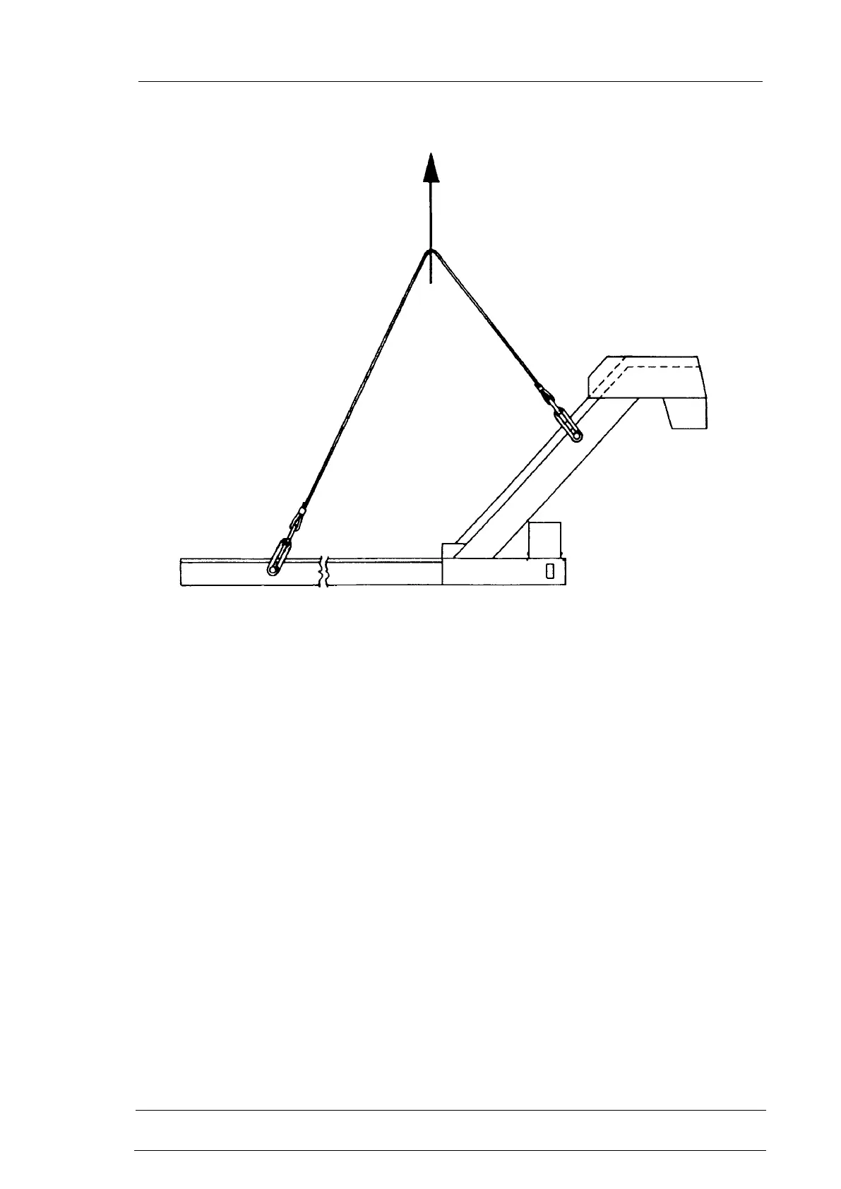
EQUIPMENT HANDLING CHART:
Lifting of:
CHIPS CONVEYOR
Mass (weight):
720 KG
Lifting mean:
Bridge crane
Type of sling:
Steel wire ropes
Min. safety factor 6 : 1
Personnel required:
n. 2 persons.

Table of Contents

Related product manuals