EasyManua.ls Logo

Hioki 3166 - Page 181

Hioki 3166
380 pages
Print Icon
To Next Page IconTo Next Page
To Next Page IconTo Next Page
To Previous Page IconTo Previous Page
To Previous Page IconTo Previous Page
Loading...
159
────────────────────────────────────────────────────
11.2 Overview of the RS-232C Interface
────────────────────────────────────────────────────
1
2
3
4
5
6
7
8
9
1
0
1
1
1
2
1
3
1
4
A
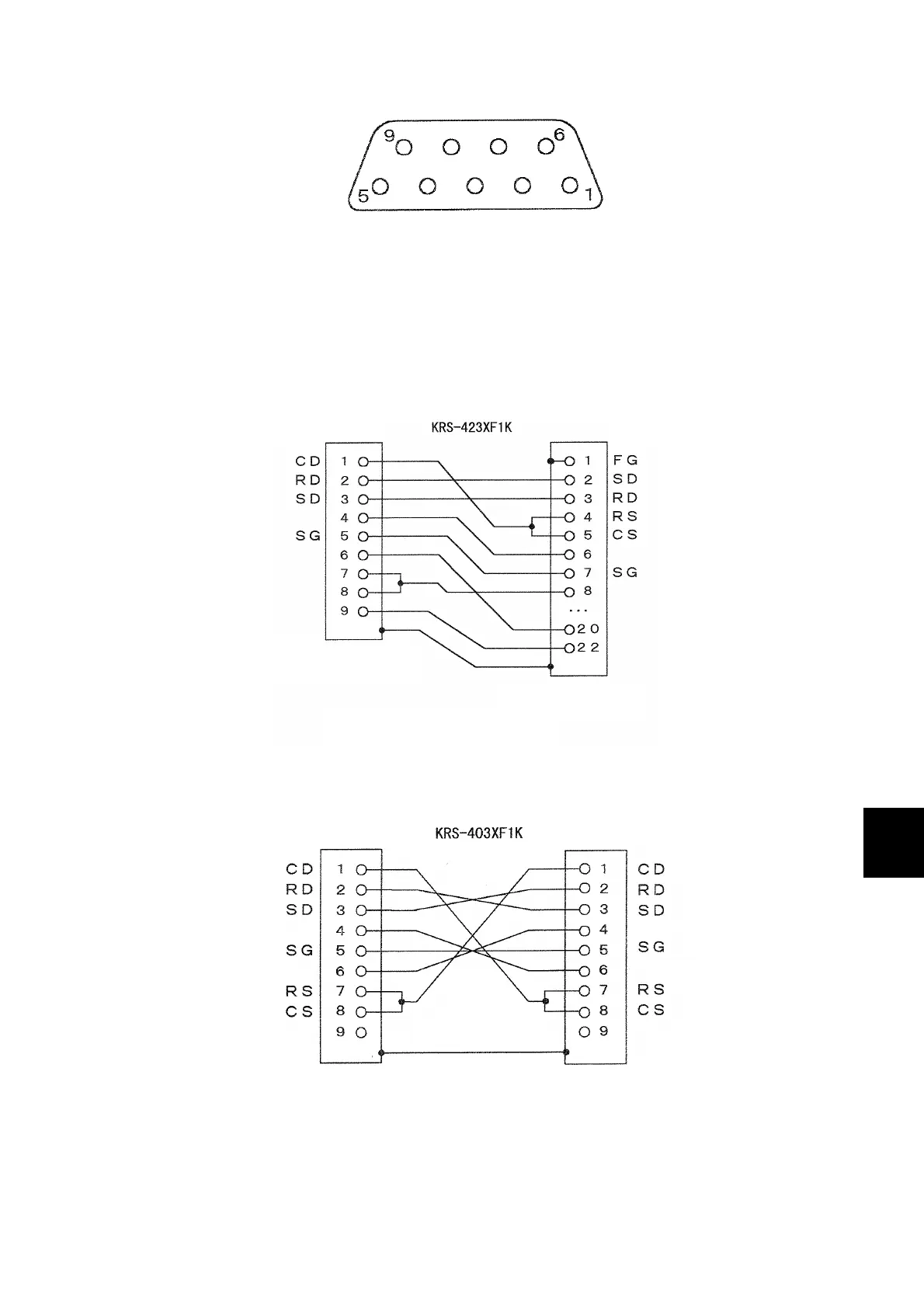
RS-232C Connector Pin Assignments
DOS/V PC
Flow control: None, XON/XOFF
To power mete
r
To PC
D-sub 9-pin femal
e
D-sub 25-pin male
Frame
Frame
RS-232C Cable
DOS/V PC
Flow control: None, XON/XOFF
To power mete
r
To PC
D-sub 9-pin femal
e
Frame
Frame
D-sub 9-pin femal
e
Frame
RS-232C Cable
Connector: D-sub 9-pin (male)
Manufacturer: Nippon Koku Denshi Kogyo DELC-J9PAF-23L9
4. RS-232C cable connection examples

Table of Contents