EasyManua.ls Logo

Hioki 3166 - Page 182

Hioki 3166
380 pages
Print Icon
To Next Page IconTo Next Page
To Next Page IconTo Next Page
To Previous Page IconTo Previous Page
To Previous Page IconTo Previous Page
Loading...
160
────────────────────────────────────────────────────
11.2 Overview of the RS-232C Interface
────────────────────────────────────────────────────
DOS/V, PC-9801 PC
Flow control: RTS/CTS, both
To power mete
r
Connection
To PC
D-sub 9-pi
n
Female D-sub 25-pi
n
Female
D-sub 25-pi
n
Male
D-sub 25-pi
n
Male
Frame
Frame
Frame
Frame
RS-232C Cable
DOS/V, PC-9801 PC
Flow control: None, XON/XOFF
To power mete
r
Connection
To PC
D-sub 25-pi
n
Female
D-sub 25-pin
Female
D-sub 25-pin
Male
D-sub 25-pi
n
Male
Frame
Frame
Frame
Frame
RS-232C Cable
Reference Connecting to a DOS/V personal computer
Flow control: None, XON/XOFF
Use a cable such as Sanwa Supply’s KRS-423XF1K KRS-403XF1K RS-232C
Cable (reverse).
Flow control: RTS/CTS, both
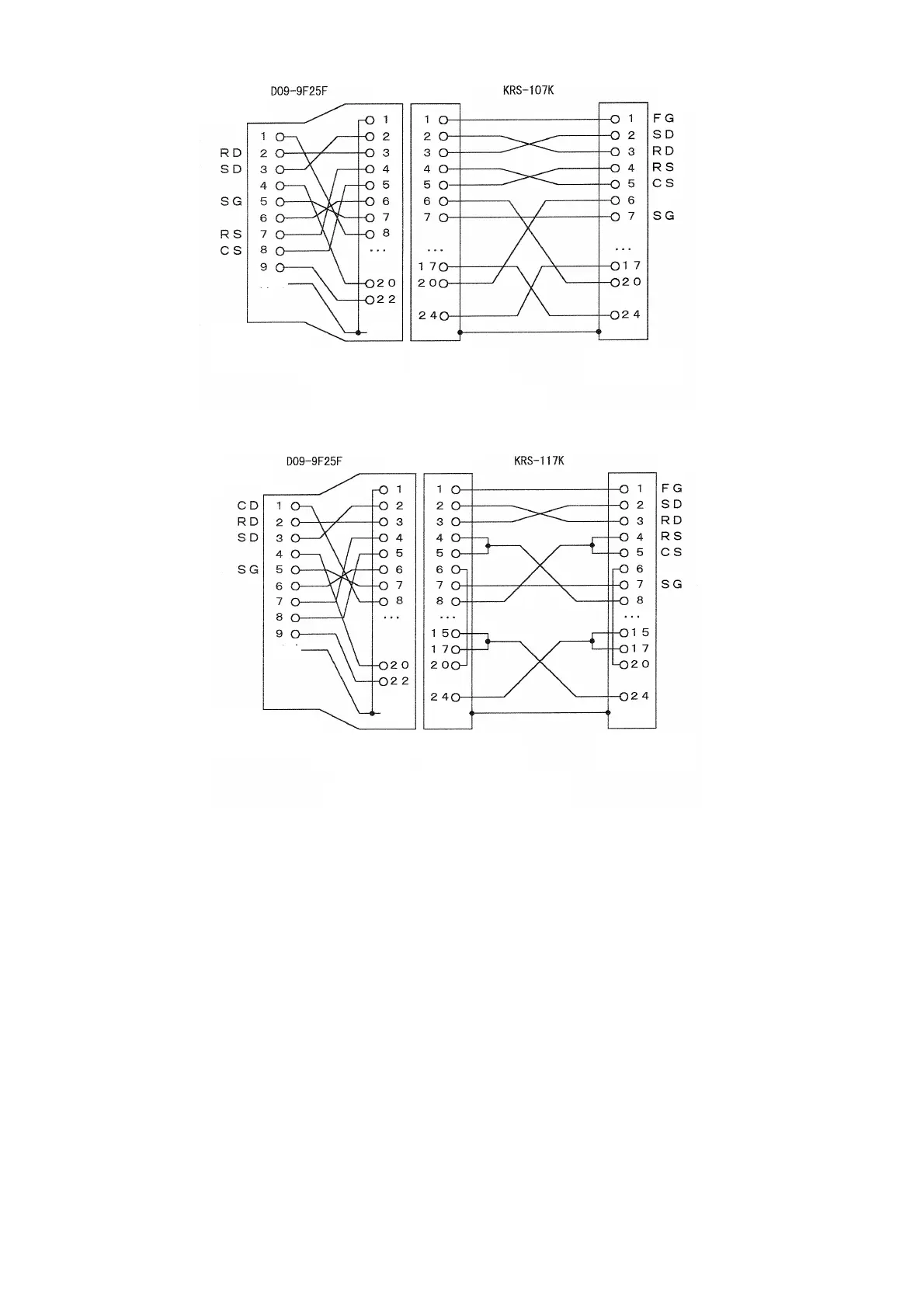
Use a cable such as Sanwa Supply’s KRS-107K RS-232C Cable (reverse) in
combination with the D09-9F25F Adapter.
Connecting to an NEC PC-9801
Flow control: None, XON/XOFF
Use a cable such as Sanwa Supply’s KRS-117K RS-232C Cable (reverse) in
combination with the D09-9F25F Adapter.
Flow control: RTS/CTS, both
Use a cable such as Sanwa Supply’s KRS-107K RS-232C Cable (reverse) in
combination with the D09-9F25F Adapter.

Table of Contents