EasyManua.ls Logo

Hioki 3166 - Page 275

Hioki 3166
380 pages
Print Icon
To Next Page IconTo Next Page
To Next Page IconTo Next Page
To Previous Page IconTo Previous Page
To Previous Page IconTo Previous Page
Loading...
253
────────────────────────────────────────────────────
13.3 Output Response Characteristics
────────────────────────────────────────────────────
1
2
3
4
5
6
7
8
9
1
0
1
1
1
2
1
3
1
4
A
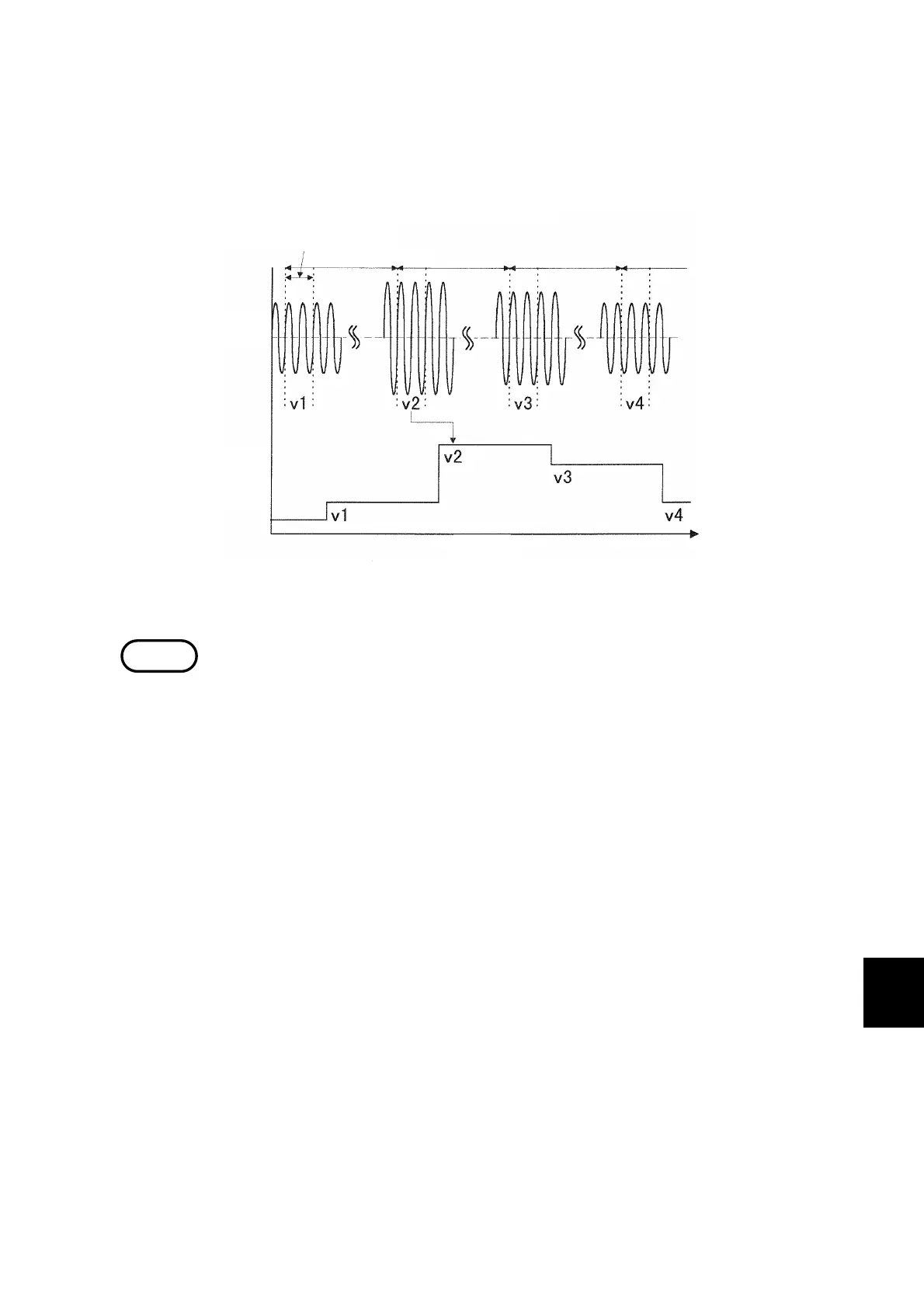
Operation length
(2 cycles)
About 1 second
Inpu
t
D/A
Outpu
t
Time
D/A Output Response Characteristics (2)
NOTE
(2) Integrated mode and Demand Measurement mode
The output is updated according to the display update rate.
When using D/A output, the optional 9594 D/A OUTPUT must already be
installed in the 3166 unit. (If the 9594 has been installed, a sticker indicating
that it has is applied to the rear cover of the power meter.)
Use Normal Measurement mode if fast output updating is required.
The output rate is DC±5 V/f.s. However, in the event of an over-range signal
(display: o.r.), approximately DC±6.6 V is output.
When outputting an integrated value as a D/A output, a special output rate is
set.
Refer to section 6.5.11, "Integrated Output Rate," or section 7.5.10, "Integrated
Output Rate," depending on the measurement mode.
When the "Wiring Check" screen is being displayed or a wiring check is in
progress, the data that is stored and output is the data prior to entering that
screen.
If the ratio of PT to CT is set to a value other than 1, the f.s. of the range is a
multiple of the scaling

Table of Contents