EasyManua.ls Logo

Hioki 3166 - Page 57

Hioki 3166
380 pages
Print Icon
To Next Page IconTo Next Page
To Next Page IconTo Next Page
To Previous Page IconTo Previous Page
To Previous Page IconTo Previous Page
Loading...
35
────────────────────────────────────────────────────
4.4 Wiring Settings and Wiring Methods
────────────────────────────────────────────────────
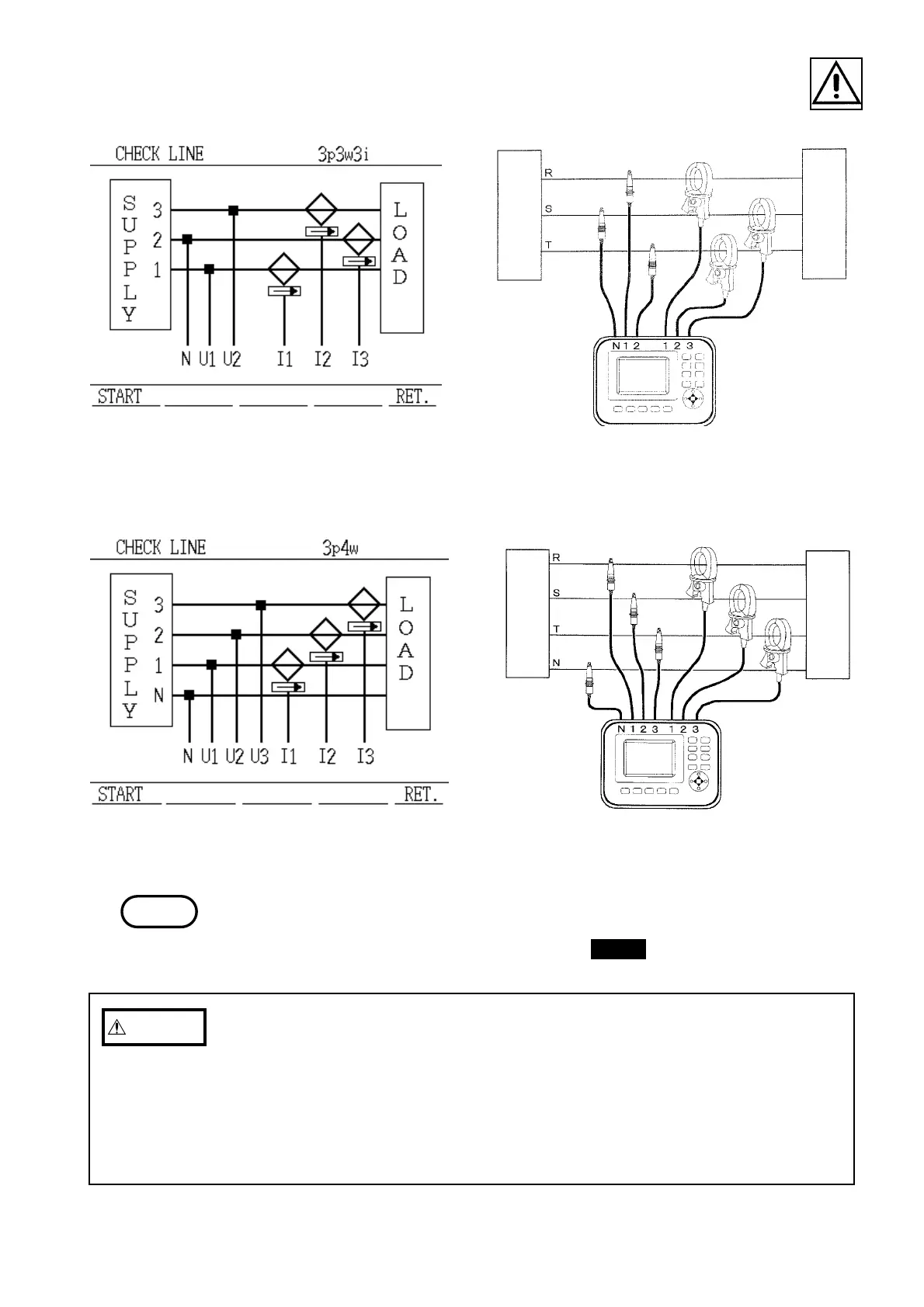
Wiring Diagram Display (Three-phase,
Three-wire, Three-current Measurement)
Re
d
Loa
d
Power
supply
Blac
k
Yellow
1
2
3
Wiring Diagram (Three-phase,
Three-wire, Three-current Measurement)
Wiring Diagram Display
(Three-phase, Four-wire)
Red
Load
Power
supply
Blue
Black
Yellow
1
2
3
N
Wiring Diagram (Three-phase, Four-wire)
NOTE
CAUTIO
N
Although this power meter can by itself measure lines ranging from single-
phase, two-wire lines to three-phase, four-wire lines, the channels are not
independent of each other, so this power meter can not be used as three
single-phase power meters.
When measuring a three-phase line, connect the wiring so that the phase
sequence of the line being measured matches the phase sequence of the
measurement channels of the 3166.
In order to take accurate measurements, it is essential that the wiring setting
and the actual wiring be correct.
Make the wiring settings before pressing the CHECK key.

Table of Contents