EasyManua.ls Logo

Mazda 6 2002 - Column Cover

Mazda 6 2002
1187 pages
Print Icon
To Next Page IconTo Next Page
To Next Page IconTo Next Page
To Previous Page IconTo Previous Page
To Previous Page IconTo Previous Page
Loading...
S84
DASHBOARD AND CONSOLE
COLUMN COVER REMOVAL/INSTALLATION
A6E774260200W01
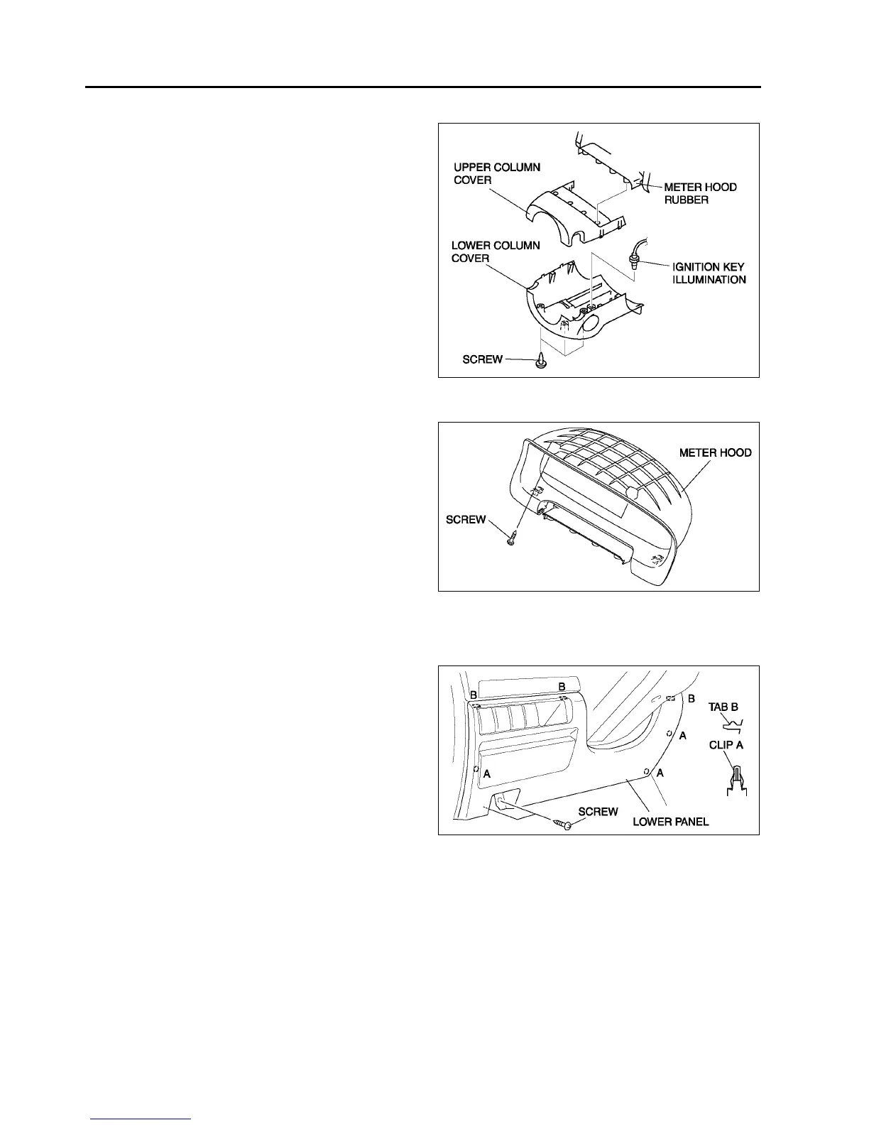
1. Detach the fit of the upper column cover from the
meter hood rubber.
2. Remove the upper column cover.
3. Remove the ignition key illumination.
4. Remove the screws.
5. Remove the lower column cover.
6. Install in the reverse order of removal.
End Of Sie
METER HOOD REMOVAL/INSTALLATION
A6E774255420W01
1. Remove the screws.
2. Pull the meter hood toward you, then detach the
column cover.
3. Install in the reverse order of removal.
End Of Sie
LOWER PANEL REMOVAL/INSTALLATION
A6E774264280W01
1. Remove the bonnet release lever.
2. Remove the screws.
3. Pull the lower panel toward you, then disengage
clips A and tabs B from the dashboard, and
remove the lower panel.
4. Install in the reverse order of removal.
End Of Sie
A6E7742W008
A6E7742W002
A6E7742W009

Table of Contents

Related product manuals