EasyManua.ls Logo

Mazda 6 2002 - Rear Seat Removal;Installation

Mazda 6 2002
1187 pages
Print Icon
To Next Page IconTo Next Page
To Next Page IconTo Next Page
To Previous Page IconTo Previous Page
To Previous Page IconTo Previous Page
Loading...
S110
SEAT
End Of Sie
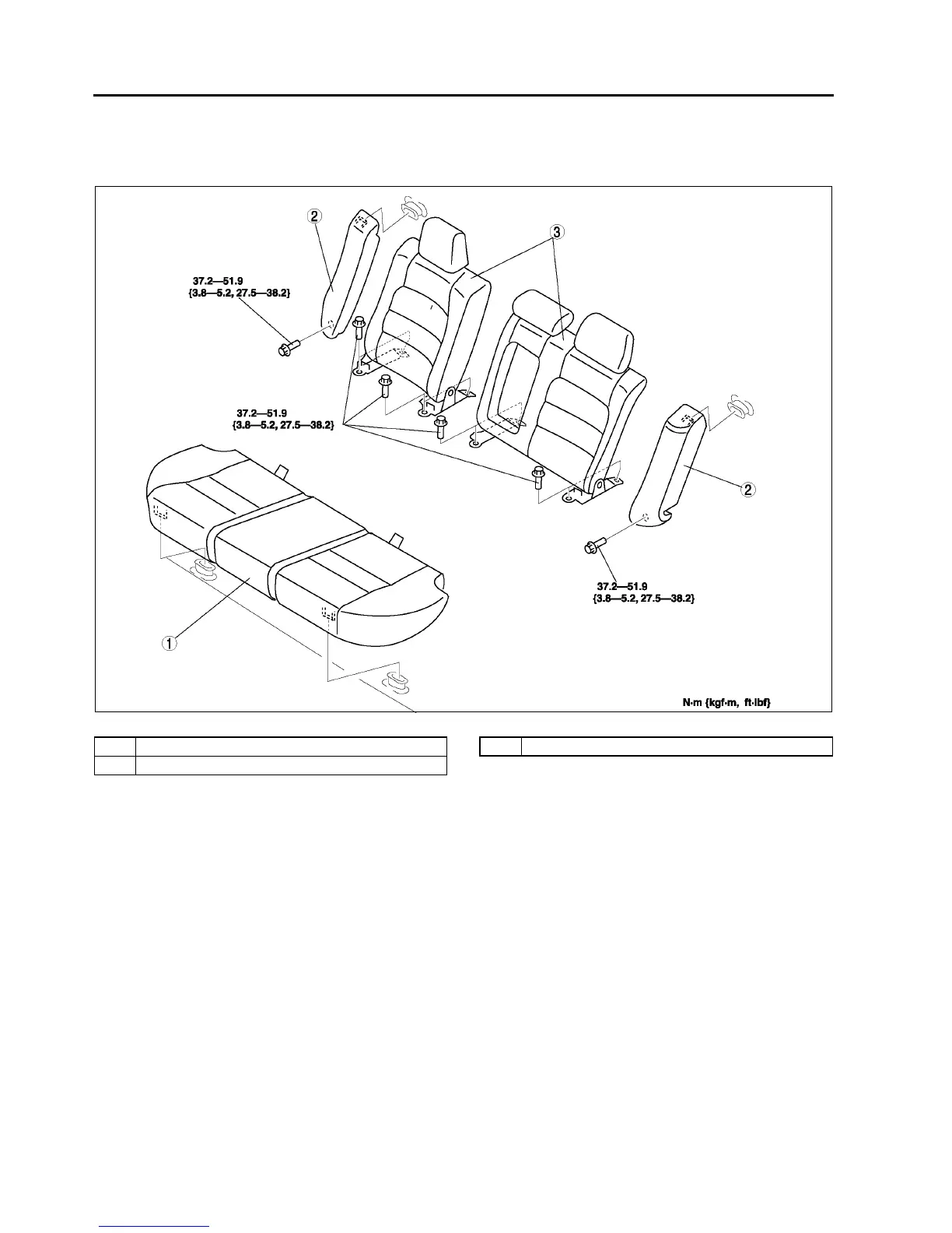
REAR SEAT REMOVAL/INSTALLATION
A6E775257200W01
4SD
1. Remove in the order indicated in the table.
2. Install in the reverse order of removal.
.
A6E7752W006
1 Rear seat cushion
2 Rear side seat
3 Rear seat back

Table of Contents

Related product manuals