EasyManua.ls Logo

Mazda 6 2002 - Page 912

Mazda 6 2002
1187 pages
Print Icon
To Next Page IconTo Next Page
To Next Page IconTo Next Page
To Previous Page IconTo Previous Page
To Previous Page IconTo Previous Page
Loading...
T60
WIPER AND WASHER
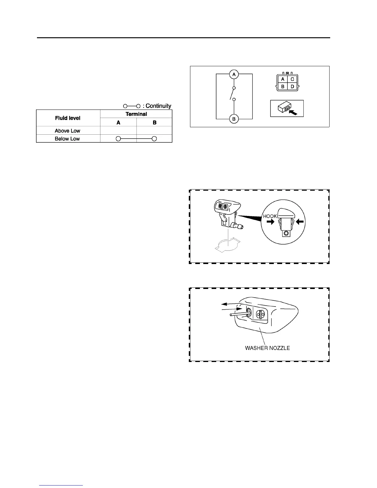
WASHER FLUID-LEVEL SENSOR INSPECTION
A6E811676670W04
1. Disconnect the negative battery cable.
2. Remove the washer tank. (See T58 WASHER TANK REMOVAL/INSTALLATION)
3. Insoect for continuity between the washer fluid-
level sensor terminals using an ohmmeter.
4. Verify that the windshield washer motor operates.
If not as specified, replace the washer fluid-
level sensor.
End Of Sie
WINDSHIELD WASHER NOZZLE REMOVAL/INSTALLATION
A6E811667510W01
1. Remove the bonnet insulator.
2. Remove the windshield washer hose from the windshield washer nozzle.
3. Compress the hooks of the windshield washer nozzle.
4. Pull the windshield washer nozzle out to remove
it.
5. Install in the reverse order of removal.
End Of Sie
WINDSHIELD WASHER NOZZLE CLEANING
A6E811667510W03
1. Clean the washer nozzle by inserting and moving
a needle or an equivalent tool back and forth.
If the nozzle becomes clogged again after
cleaning, remove the hose from washer
nozzle. Make sure there is enough washer
fluid. Then turn the washer switch on and
flush the inside of the hose.
End Of Sie
A6E8116W130
A6E8116W144
A6E8116W143
A6E8116W124

Table of Contents

Related product manuals