EasyManua.ls Logo

KLM MD-11 - WORK Switch

KLM MD-11
888 pages
Print Icon
To Next Page IconTo Next Page
To Next Page IconTo Next Page
To Previous Page IconTo Previous Page
To Previous Page IconTo Previous Page
Loading...
MD-11 Flight Crew Operations Manual
k
Aircraft General -
Controls and Displays
Agen.30.34
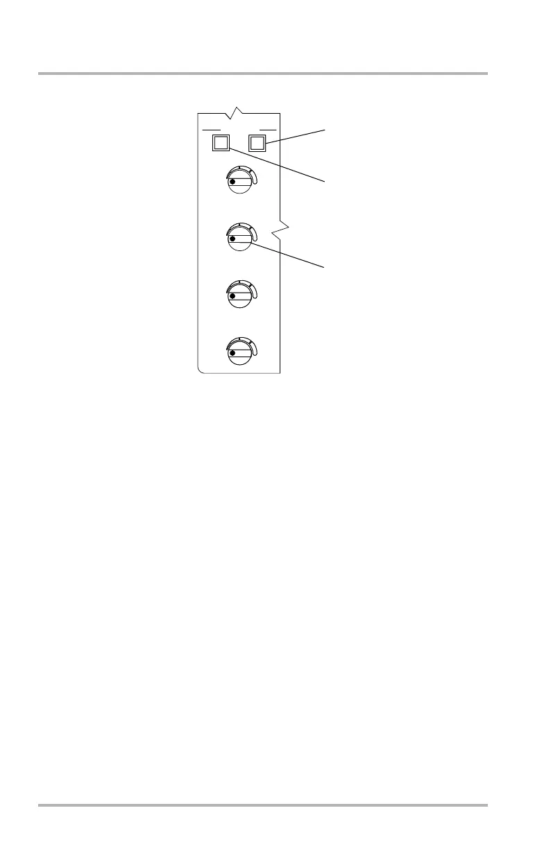
Flight Attendant Panel
1. WORK Switch
Turns on respective galley work light.
2. AISLE Switch
Enables operation of aisle lights for entire cabin area. Switch available only
at forward left cabin attendant panel. Individual brightness control available
at respective cabin attendant panel. AISLE illuminates when switch is
selected on.
3. OFF/Brightness Control Knob
Controls brightness of respective light. Full counterclockwise turns light off,
clockwise rotation increases brightness.
TYPICAL
1
2
3
LIGHTING
AISLE
WORK
NORM
ENTRY
OFF
COCKPIT ENTRY
SIDEWALL
OFF
OFF
OFF
FWD CABIN
CEILING
DB1-2-1903
October 02, 2006

Table of Contents