EasyManua.ls Logo

KLM MD-11 - Pump and Valve Schematic

KLM MD-11
888 pages
Print Icon
To Next Page IconTo Next Page
To Next Page IconTo Next Page
To Previous Page IconTo Previous Page
To Previous Page IconTo Previous Page
Loading...
MD-11 Flight Crew Operations Manual
k
Fuel -
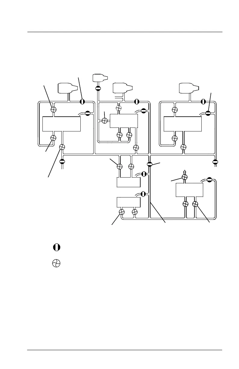
Functional Schematic
Fuel.50.3
Pump and Valve Schematic
UPPER
AUX TANK
LOWER
AUX TANK
TANK
ENG 2
ENGINE
1
APU
ENGINE
2
ENGINE
3
TANK 1
TANK 2
TANK 3
A
A
A
A
A
A
A
A
A
A
A
A
A
F
F
F
F
F
F
F
F
F
F
F
F
B
B
B
I
I
DUMP
VALVE
PUMP
I
A - Controlled by ancillary fuel system controller (AFSC)
B - Controlled by both FSC and AFSC
I - Independent control
F - Controlled by fuel system controller (FSC)
DUMP
TAIL
TANK
TAIL
CROSS
FEED
VALVES
FORWARD
BOOST
PUMPS
FILL
VALVES
AFT
BOOST
PUMPS
TRANSFER
PUMPS
TRANSFER PUMPS
AUXILIARY FILL
ISOLATION
VALVE
AUXILIARY
MANIFOLD
TRANSFER
PUMPS
TRANSFER
PUMPS
TAIL
ALTERNATE
PUMP
APU
PUMP
DB1-2-1942
October 02, 2006

Table of Contents