EasyManua.ls Logo

KLM MD-11 - Pitot;Static System

KLM MD-11
888 pages
Print Icon
To Next Page IconTo Next Page
To Next Page IconTo Next Page
To Previous Page IconTo Previous Page
To Previous Page IconTo Previous Page
Loading...
MD-11 Flight Crew Operations Manual
k
Instrumentation and Navigation -
Components
Inst.20.2
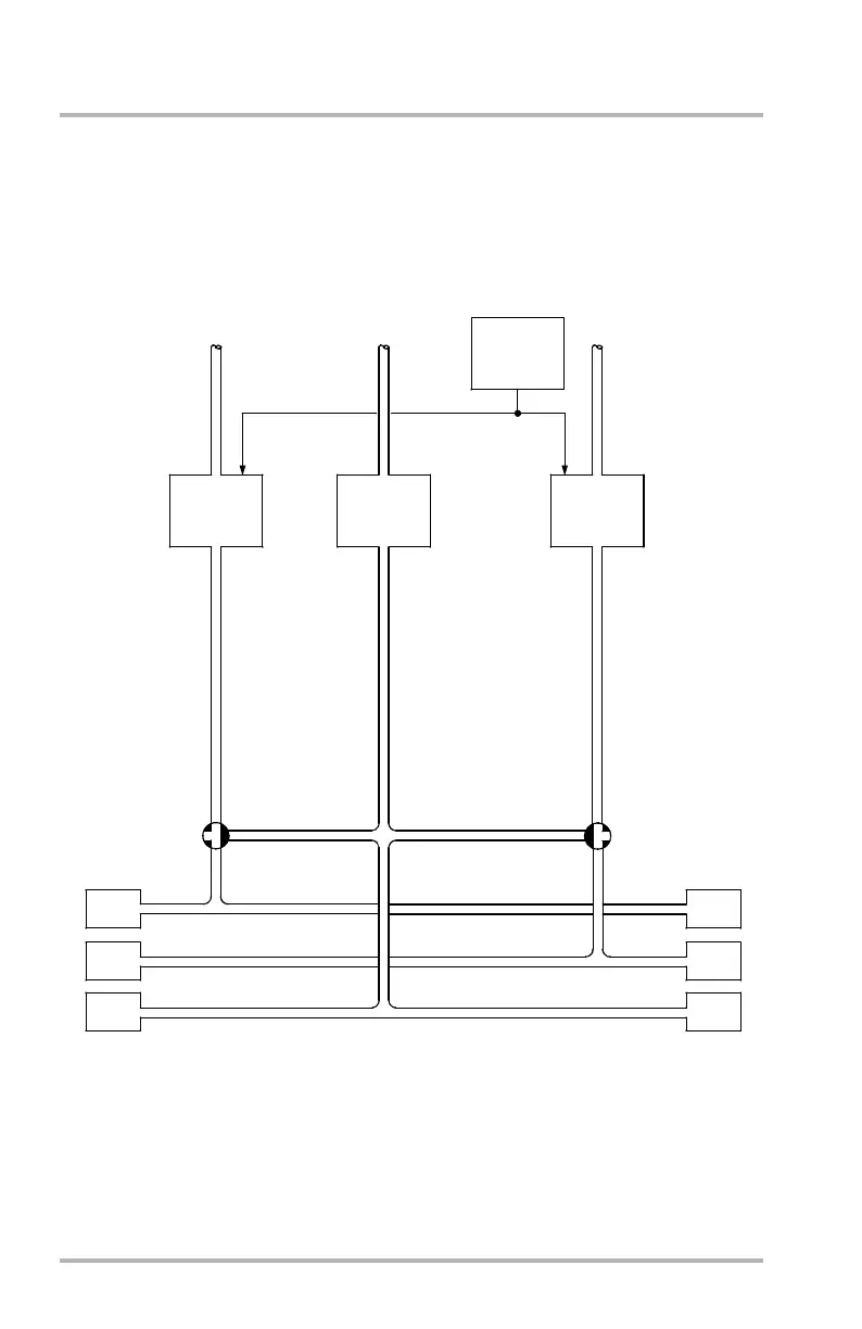
Pitot/Static System
DB1-2-1956
CADC 1
CADC 2
BARO CORR
FQGS
MSC
F/O
PITOT
CAPT
PITOT
3RD
PITOT
STANDBY
ALT
IAS
CAPT
STATIC
F/O
STATIC
ALT
STATIC
FIRST OFFICER'S
STATIC AIR
SELECTOR
CAPTAIN'S
STATIC AIR
SELECTOR
October 02, 2006

Table of Contents