EasyManua.ls Logo

KLM MD-11 - Aft Overhead Panel

KLM MD-11
888 pages
Print Icon
To Next Page IconTo Next Page
To Next Page IconTo Next Page
To Previous Page IconTo Previous Page
To Previous Page IconTo Previous Page
Loading...
MD-11 Flight Crew Operations Manual
k
Aircraft General -
Description and Operation
Agen.10.8
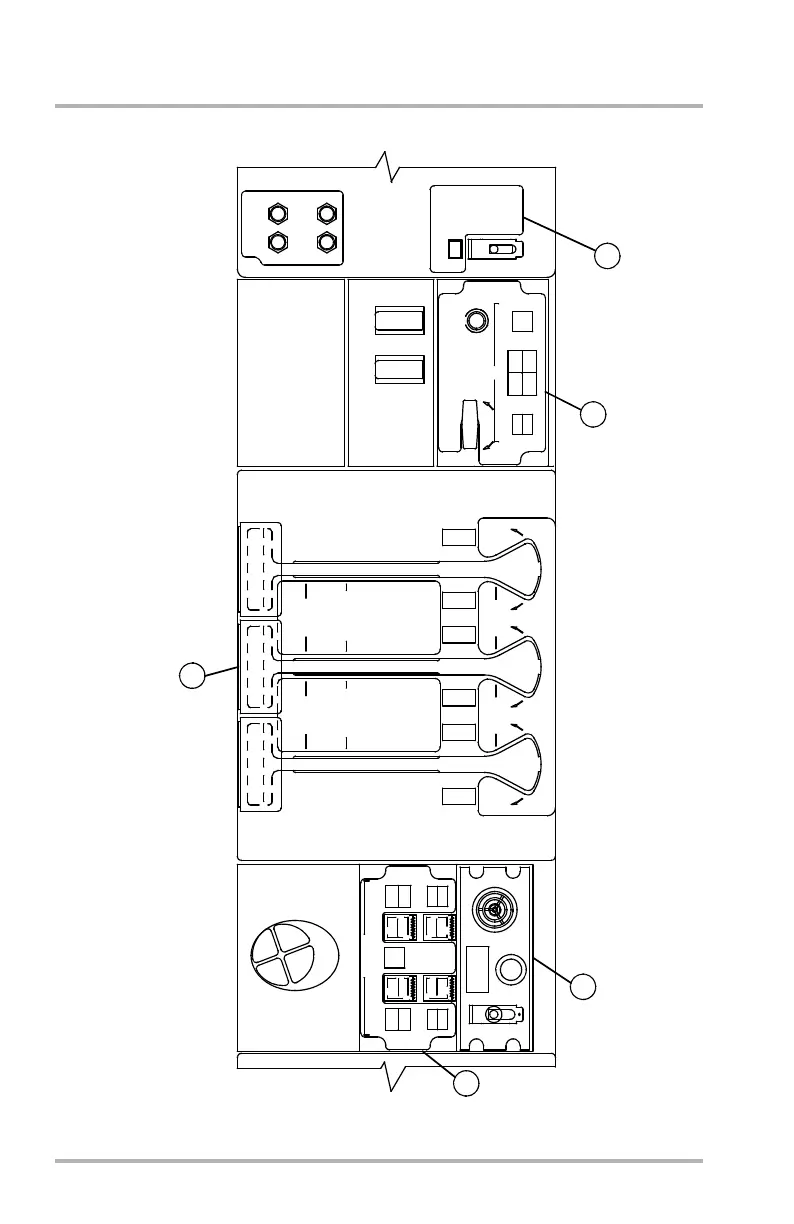
Aft Overhead Panel
DB1-2-1636A
OFF
FAIL
FUEL
DOOR
APU
START/
STOP
APU
GEN
LT PLTS
LT PLTS
4V
LCD
LT PLTS
INTEGRAL LTG
OVHD SW PNL
5V
5V 5V
GPWS
FLAP OVRD
NORM
TEST
APU FIRE
AGENT DISCH
ENG/APU
FIRE TEST
2
1
PULL/TURN
FWD
FLOW
DISCH
AGENT
AGENT
DISCH
AFT
FLOW
MANUAL
TEST
FWD
AFT
HEAT
HEAT
AFT2
LOW
1
1
2
AGENT
1
OFF
AGENT
1
AGENT
2
OFF
AGENT
1
AGENT
2
AGENT
2
DISCONNECT
GEN FIELD
DISCONNECT
GEN FIELD
NORM
NORM
PULLPULLPULLPULLPULLPULL
FUEL HYD
FUEL HYD
(MOM)
SMOKE
SMOKE
AFT1
LOW
DISAG
OFF
FWD1
LOW
FWD2
LOW
TEST
DISAG
OFF
AGT
1
LOW
LOW
AGT
AGT
LOW
AGT
2
LOW
AGT
LOW
AGT
2
LOW
CARGO FIRE
ENG 1 FIRE
ENG 2 FIRE
ENG 3 FIRE
ON
OFF
9
9
17
3
EVACUATION SIGNAL
HORN
SHUTOFF
OFF
ARM
ON
PULL
EVAC
7
DB1-2-1936
FLT
TRK
OFF
ON
PASS
TEL
OVRD
TERRAIN OVRD
October 02, 2006

Table of Contents