EasyManua.ls Logo

KLM MD-11 - Page 141

KLM MD-11
888 pages
Print Icon
To Next Page IconTo Next Page
To Next Page IconTo Next Page
To Previous Page IconTo Previous Page
To Previous Page IconTo Previous Page
Loading...
MD-11 Flight Crew Operations Manual
k
Air Chapter Air
Components Section 20
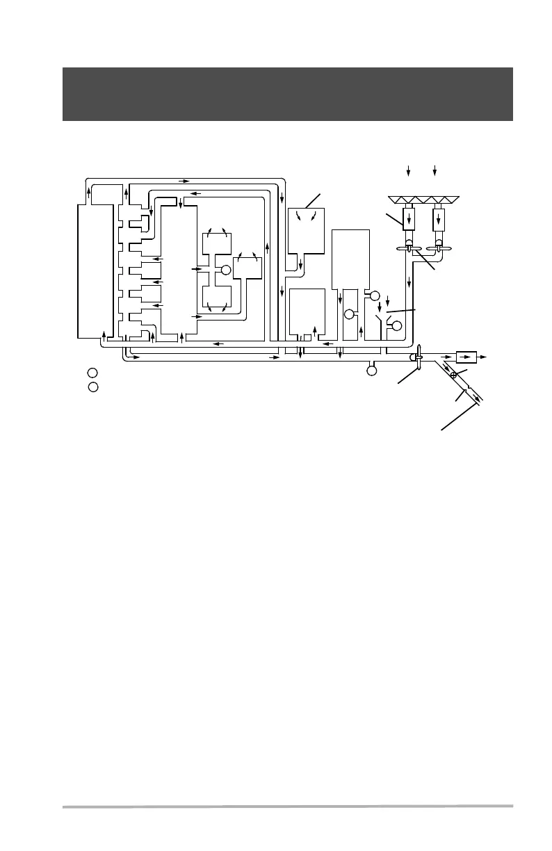
Air.20.1
Air.20 Air-Components
Avionics and Equipment Cooling Components
DB1-2-1960
COCKPIT
CRT
MAIN
RACK
E/E
RACK
AUX
RACK
MCDU
MCDU
MCDU
FLOW SENSOR
FILTER ASSEMBLY
AMBIENT AIR
AMBIENT AIR
CHECK
VALVES
MAIN AVIONICS
COMPARTMENT
FAN
COMPARTMENT
AIR
EXHAUST FAN
SHUTOFF
VALVE
TEMPERATURE SENSOR
FLOW LIMITING VENTURI
OVERBOARD
(NORMAL OPERATION)
PLENUM
COCKPIT (GLARESHIELD)
AVIONICS
COMPARTMENT
F
F
F
F
F
T
T
CRT
CRT
CRT
CRT
CRT
October 02, 2006

Table of Contents