EasyManua.ls Logo

KLM MD-11 - Page 644

KLM MD-11
888 pages
Print Icon
To Next Page IconTo Next Page
To Next Page IconTo Next Page
To Previous Page IconTo Previous Page
To Previous Page IconTo Previous Page
Loading...
MD-11 Flight Crew Operations Manual
k
Fuel -
Controls and Displays
Fuel.30.8
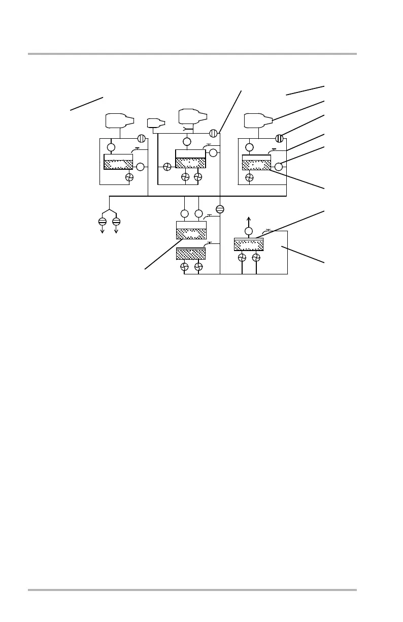
SD FUEL Synoptic
1. Schematic Lines
Pressurized fuel lines are green. Unpressurized fuel lines are white. Flow
lines to the APU are only shown when the APU is on. Fuel dump lines are
only shown during fuel dump.
2. Total Fuel Quantity
Fuel quantity digits are white. Ballast fuel digits are cyan. Unit of
measurement is kilograms. The tank where the ballast fuel is trapped is
displayed below the ballast digits. Unavailable total fuel indication is an
amber X. Unavailable ballast fuel indicated by a removal of ballast digits.
3. Fuel Used Readout (3)
The fuel used by each engine is displayed in white within a white outline of
the engine. The last digit is fixed as 0. Unit of measurement is kilograms.
Readouts can be reset by pushing the FUEL USED RESET button on the
forward overhead panel. The button must be held in until all readouts return
to zero. If no valid fuel used data is available, the digits are replaced with an
amber X.
1
AUX TANK
FUEL
KG
FUEL
APU
TAIL
16216
DUMP
LR
TIP
4000
11700
TIP
4000
TIP
4000
ENG 2
GW
MT
269
+10ºC
-27ºC
CG 31.8
908
2
3
4
5
6
7
8
9
10
11
DB1-2-1941
11700
11700
65
BALLAST 4082KG
.80
9639
9572
9300
5216
FUEL
SYSTEM
TEST
October 02, 2006

Table of Contents