EasyManua.ls Logo

Panasonic Micro-Imagechecker PV310 - Page 353

Panasonic Micro-Imagechecker PV310
363 pages
Print Icon
To Next Page IconTo Next Page
To Next Page IconTo Next Page
To Previous Page IconTo Previous Page
To Previous Page IconTo Previous Page
Loading...
345
Cha
p
ter 19
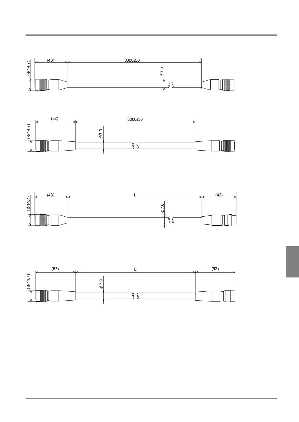
Dimensions
Camera Cable
ANM84303 (CE) / ANM842XX
(XX= Cable length)
ANM84603
ANM840XXA (CE)
(XX = Cable length)
ANM8450XX
(XX = Cable length)
Unit: mm
L: Cable length Shorter for products with CE.

Table of Contents

Related product manuals