EasyManua.ls Logo

Abbott CELL-DYN 3000 - Page 248

Abbott CELL-DYN 3000
296 pages
Print Icon
To Next Page IconTo Next Page
To Next Page IconTo Next Page
To Previous Page IconTo Previous Page
To Previous Page IconTo Previous Page
Loading...
28 Oct
1997 21:57
CELL-DYN
®
3/35 Sample Loader TS Guide 9140234B-June 1997
VERIFICATION PROCEDURES
VP - 8.1 Needle Sensors Check/Adjustment
3 - 123
3
Search
Book TOC
Go Back
7. Press (
N
) key to move Needle to Home position (UP).
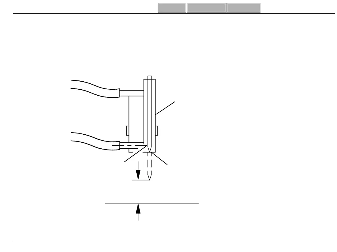
8. Ensure aspiration hole in needle is centered in waste cavity line and tip of needle is flush with
bottom of Wash Block.
NOTE:Needle must not extend below bottom of Wash Block nor recess more than 0.040” (1mm).
Figure 3-65
Limit
(
Bottom
)
:
Tip 1/2"
(
~1 cm
)
Above Platen
Hole Centered on
Waste Drain Cavit
y
Home: Tip Flush with
Bottom of Wash Block or
Recessed Up to .040 in.
Wash Block
E LOADER WITH
BROWN WASH BLOCK
SL-274

Table of Contents

Other manuals for Abbott CELL-DYN 3000

Related product manuals