EasyManua.ls Logo

Husqvarna TE511 - Adapter (TXC)

Husqvarna TE511
385 pages
Print Icon
To Next Page IconTo Next Page
To Next Page IconTo Next Page
To Previous Page IconTo Previous Page
To Previous Page IconTo Previous Page
Loading...
M.8
TCX
1
2
3
4
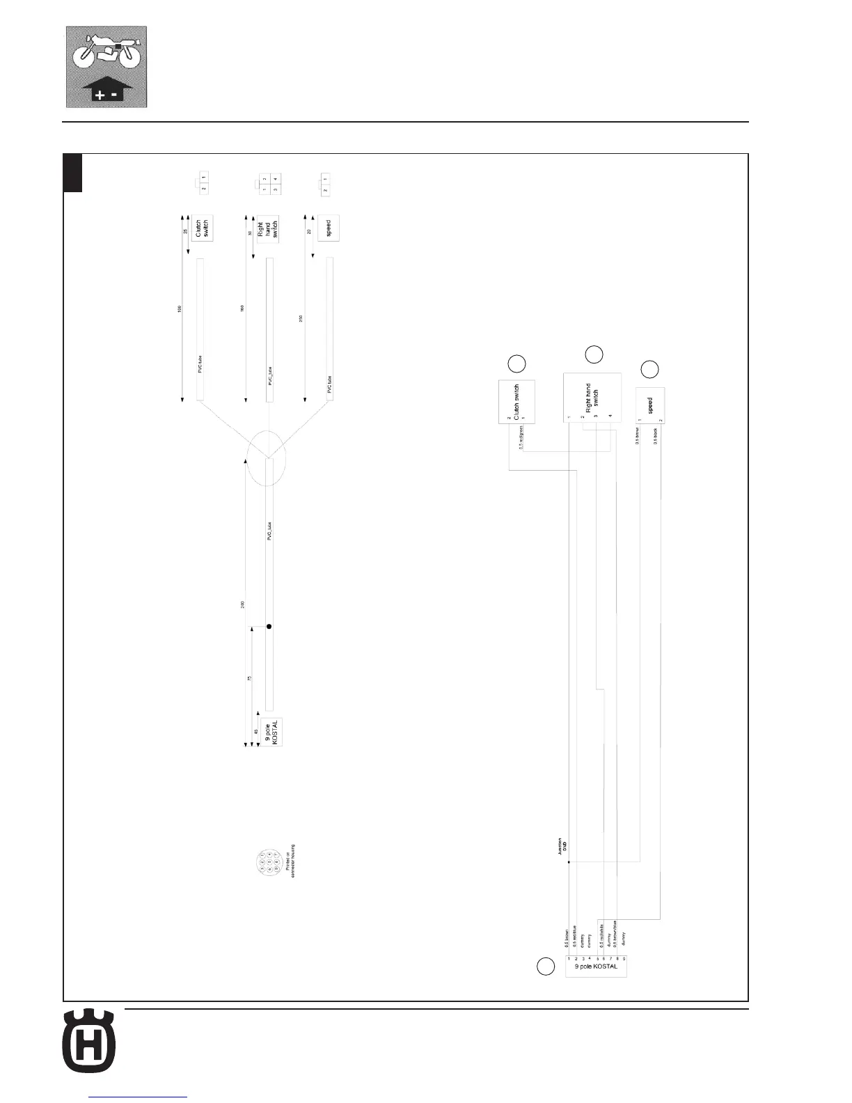
ELECTRICAL SYSTEM
1
st
edition (08-2010)_Rev. 11-2010
Adapter (TXC)

Table of Contents

Related product manuals