EasyManua.ls Logo

Ricoh A66 - Page 158

Ricoh A66
733 pages
Print Icon
To Next Page IconTo Next Page
To Next Page IconTo Next Page
To Previous Page IconTo Previous Page
To Previous Page IconTo Previous Page
Loading...
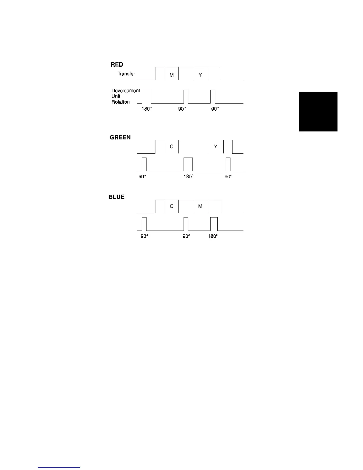
(2) In 2C Mode (R, G, and B)
After the start key has been pressed, the machine moves the first color
development section to the position for development. For Blue or Green, the
first color is Cyan, so the revolver must turn 90 degrees, and for Red, the
first color is Magenta, so the revolver must turn 180 degrees.
After the first toner color has been transferred to the drum, the development
unit rotates the second color development section into position.
For Red, the revolver must turn from Magenta to Yellow, which is 90
degrees.
For Green, the revolver must turn from Cyan to Yellow, which is 180
degrees.
For Blue, the revolver must turn from Cyan to Magenta, which is 90
degrees.
Detailed
Section
Descriptions
DEVELOPMENT UNIT
SM 2-89 A166/A187/A189

Table of Contents

Related product manuals