EasyManua.ls Logo

VOTEM VM15 - Menu Description

VOTEM VM15
255 pages
Print Icon
To Next Page IconTo Next Page
To Next Page IconTo Next Page
To Previous Page IconTo Previous Page
To Previous Page IconTo Previous Page
Loading...
VM15 User Manual Printing (Option)
206
Printing for popup screens
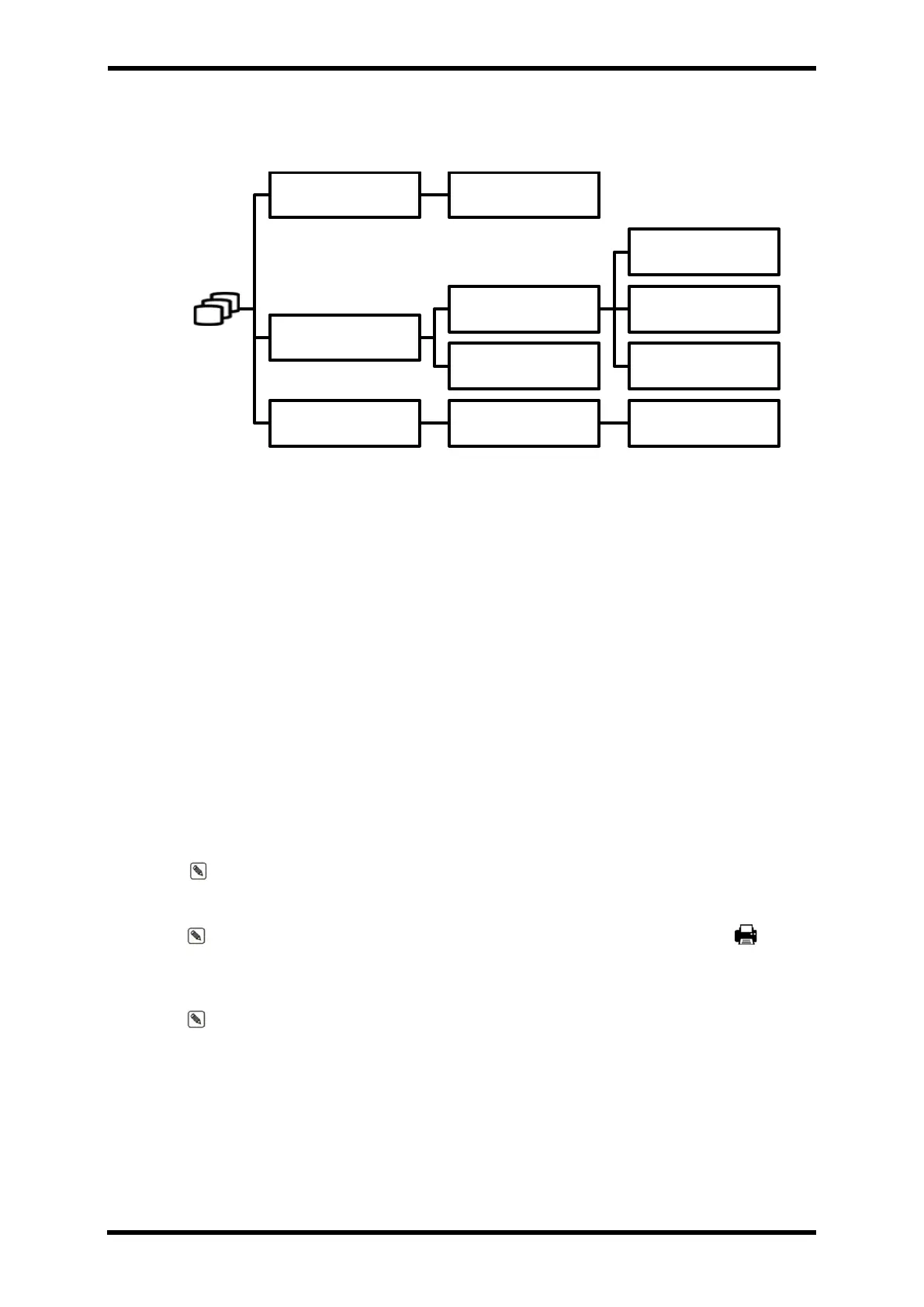
Menu Description
Real-time Printing (the main screen)
SYNC
MANUAL : Starts printing when the user presses the printing button.
ALARM : When exceeding the range of alarm, it starts automatically printing.
MODE
WAVE : Prints out the designated waves.
TREND : Prints out the trend data.
BOTH : Prints out both of them.
SOURCE
Select the type of wave to print.
SIZE
Select the length of the waves to be printed. (Character data area is not
included.)
SIZE menu only works in manual mode.
(The printing length in the popup screens and 12ch-ekg mode is fixed).
During real-time printing, data collection is necessary, so the print button ( ) blinks
during that time, but in normal printing (Popup Screen), PRINT button does not blink
because it is printing for data already stored.
When EtCo2 or MultiGas module is connected, the resp value of trend data outputs the
corresponding value.
Popup Screens
TREND
PRINT : Prints out 11 trend data, including 5 data before and after the selected
time.
TREND PRINT
EVENT
PRINT SET
WAVE 1
WAVE 2
WAVE 3PRINT
DRUG CALCULATION TITRATION CHART PRINT

Table of Contents

Related product manuals