EasyManua.ls Logo

Bosch VLS 5140 - 10 Schemi Elettrici; Schema Elettrico 1: Alimentazione

Bosch VLS 5140
Print Icon
To Next Page IconTo Next Page
To Next Page IconTo Next Page
To Previous Page IconTo Previous Page
To Previous Page IconTo Previous Page
Loading...
1 689 978 572 2014-06-06| Robert Bosch GmbH
Schemi elettrici | VLS 5140 | 167 it
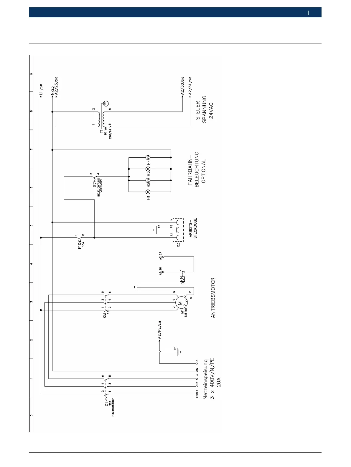
10. Schemi elettrici
10.1 Schema elettrico 1: alimentazione
Fig. 38: Schema elettrico 1

Table of Contents

Related product manuals