EasyManua.ls Logo

Bosch VLS 5140 - 10 Circuit Diagrams; Circuit Diagram 1: Supply

Bosch VLS 5140
Print Icon
To Next Page IconTo Next Page
To Next Page IconTo Next Page
To Previous Page IconTo Previous Page
To Previous Page IconTo Previous Page
Loading...
1 689 978 572 2014-06-06| Robert Bosch GmbH
Circuit Diagrams | VLS 5140 | 65 en
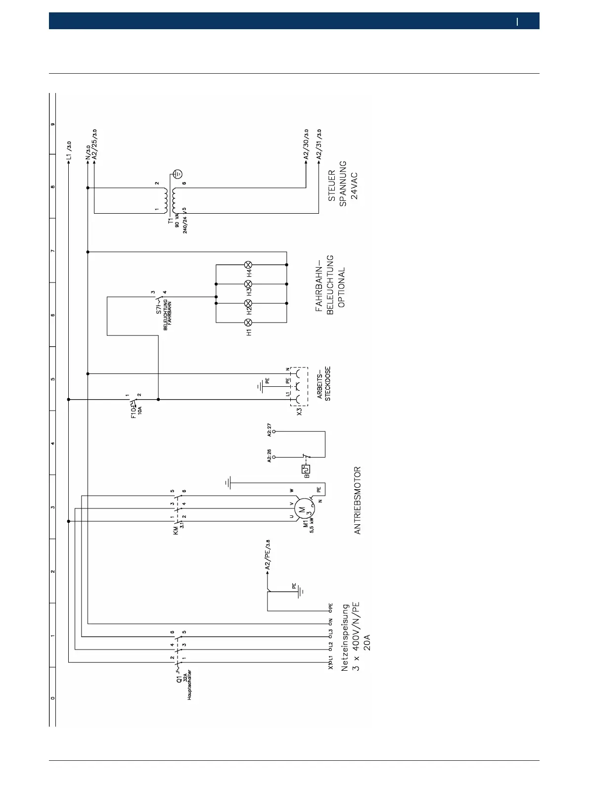
10. Circuit Diagrams
10.1 Circuit diagram 1: Supply
Fig. 38: Circuit diagram 1

Table of Contents

Related product manuals