EasyManua.ls Logo

Bosch VLS 5140 - Page 173

Bosch VLS 5140
Print Icon
To Next Page IconTo Next Page
To Next Page IconTo Next Page
To Previous Page IconTo Previous Page
To Previous Page IconTo Previous Page
Loading...
1 689 978 572 2014-06-06| Robert Bosch GmbH
Schemi elettrici | VLS 5140 | 173 it
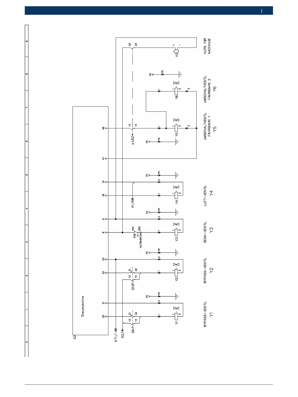
Fig. 44: Schema elettrico 4b (con sollevatore libera ruot)

Table of Contents

Related product manuals