EasyManua.ls Logo

Bosch VLS 5140 - Mounting the Components

Bosch VLS 5140
Print Icon
To Next Page IconTo Next Page
To Next Page IconTo Next Page
To Previous Page IconTo Previous Page
To Previous Page IconTo Previous Page
Loading...
1 689 978 572 2014-06-06| Robert Bosch GmbH
Kopplingsscheman | VLS 5140 | 207 sv
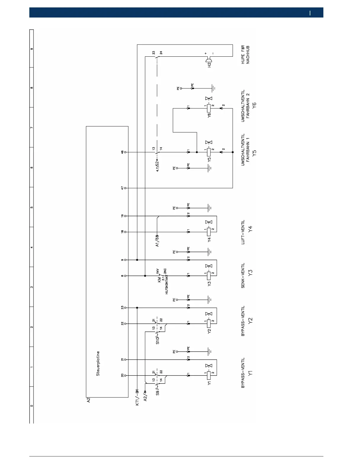
Fig. 44: Kopplingsschema 4b (med frihjulslyft)

Table of Contents

Related product manuals