EasyManua.ls Logo

Bosch VLS 5140 - Page 273

Bosch VLS 5140
Print Icon
To Next Page IconTo Next Page
To Next Page IconTo Next Page
To Previous Page IconTo Previous Page
To Previous Page IconTo Previous Page
Loading...
1 689 978 572 2014-06-06| Robert Bosch GmbH
Esquemas de circuitos | VLS 5140 | 273 pt
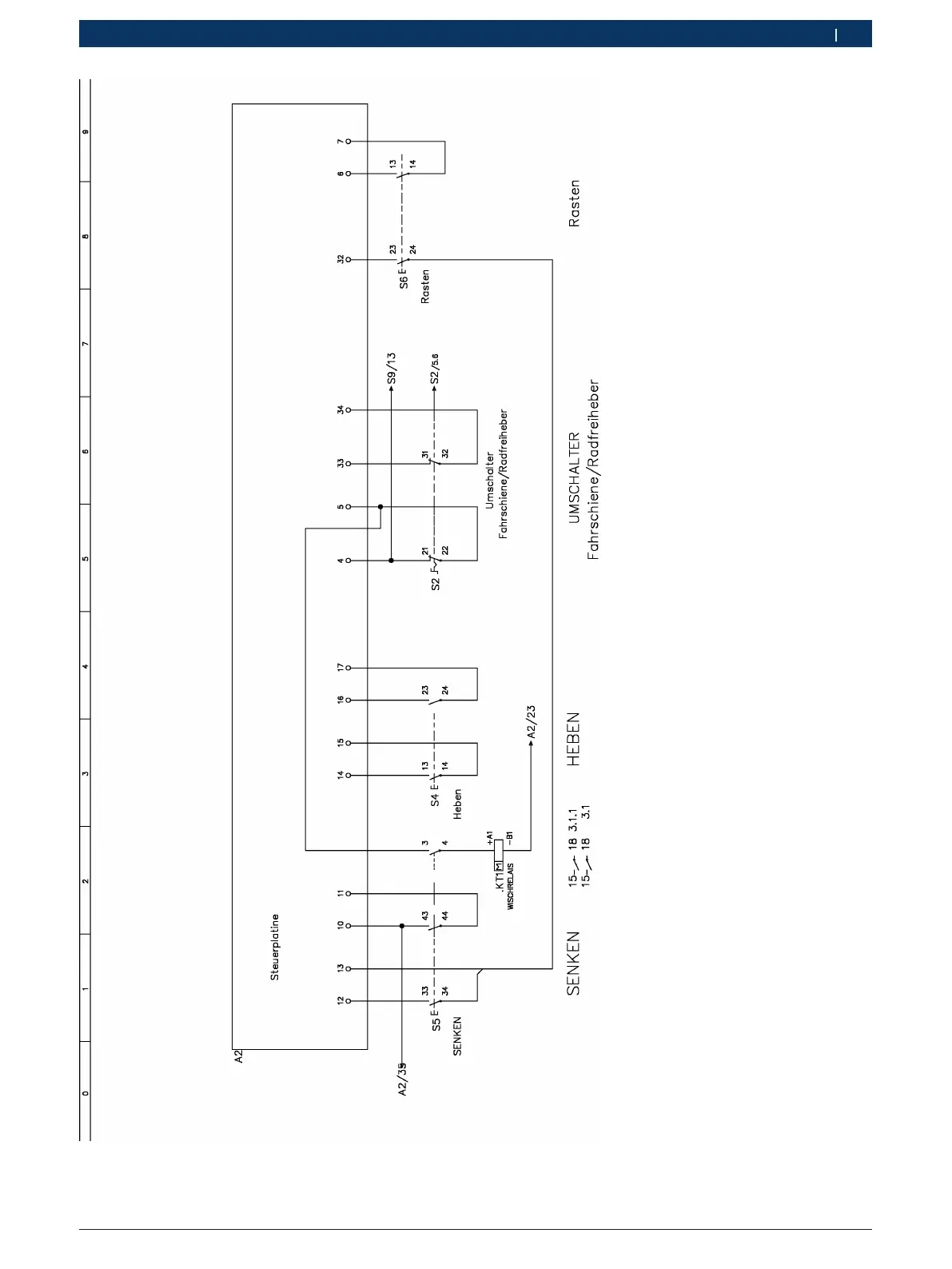
Fig. 42: Esquema de circuitos 3b (com elevador auxiliar)

Table of Contents

Related product manuals