EasyManua.ls Logo

Bosch VLS 5140 - Page 307

Bosch VLS 5140
Print Icon
To Next Page IconTo Next Page
To Next Page IconTo Next Page
To Previous Page IconTo Previous Page
To Previous Page IconTo Previous Page
Loading...
1 689 978 572 2014-06-06| Robert Bosch GmbH
Schematy prądowe | VLS 5140 | 307 pl
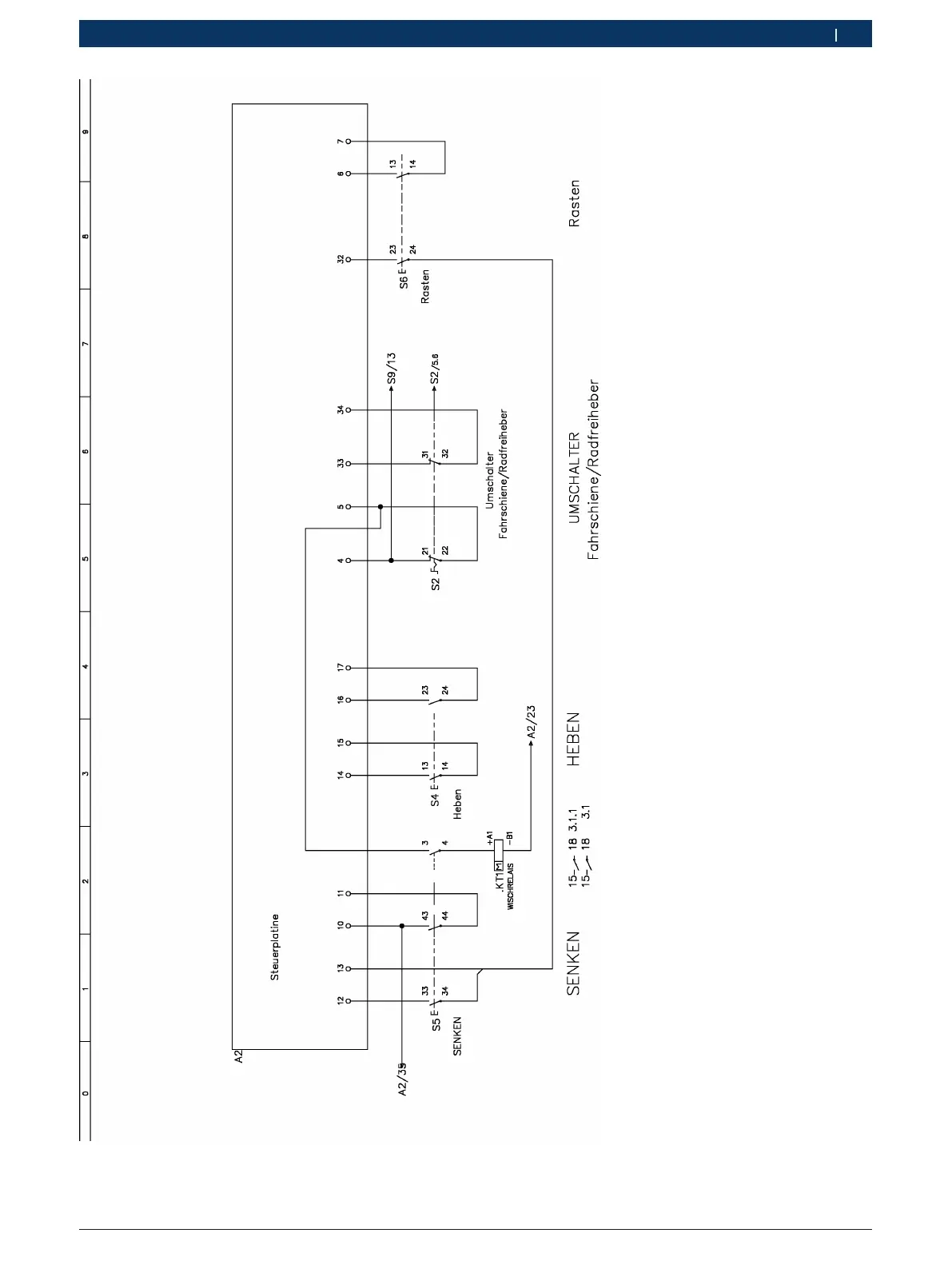
Rys. 42: Schemat prądowy 3b (z podnośnikiem podwoziowym)

Table of Contents

Related product manuals