EasyManua.ls Logo

LAR Process Analysers QuickTOC ultra - Page 49

LAR Process Analysers QuickTOC ultra
297 pages
Print Icon
To Next Page IconTo Next Page
To Next Page IconTo Next Page
To Previous Page IconTo Previous Page
To Previous Page IconTo Previous Page
Loading...
12E5119 Instruction Manual QuickTOC
®
ultra
IECEx 39
3 Product
3.7 Cooling and Emergency Cooling
LAR | PROCESS ANALYSERS AG
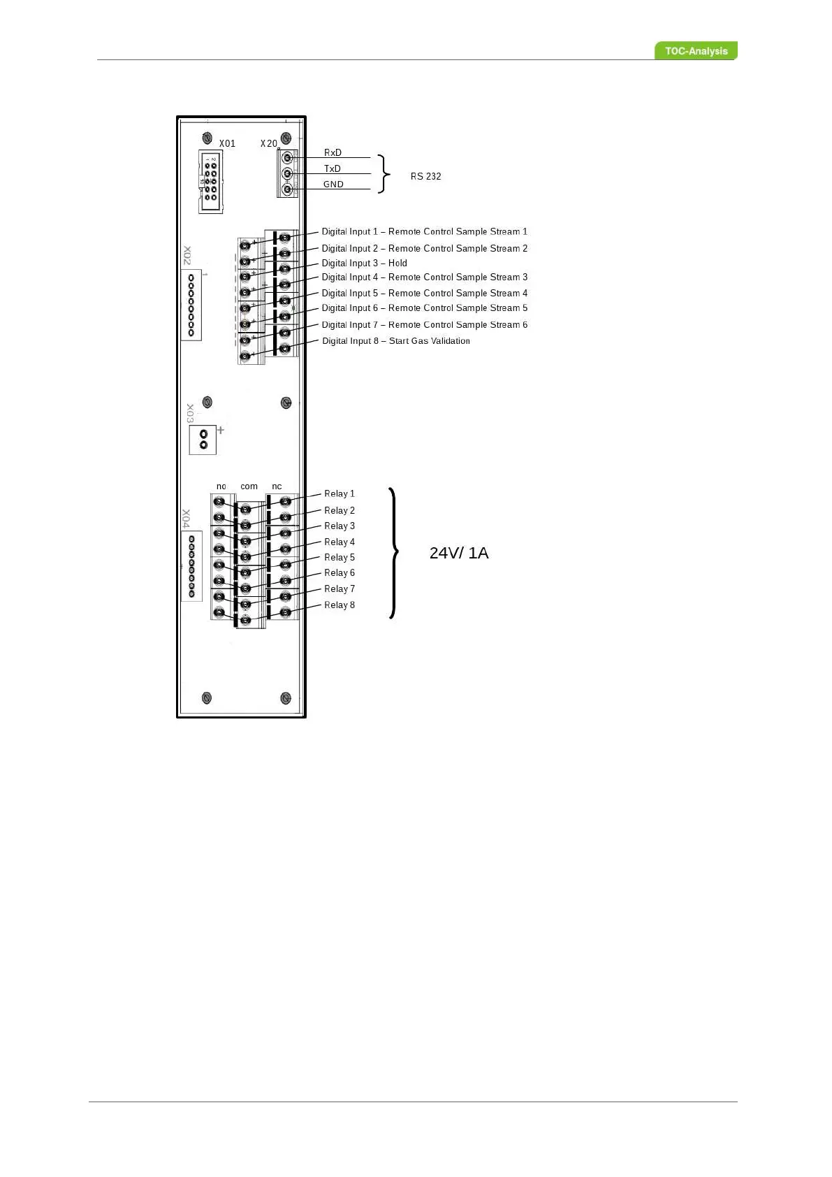
Fig. 28: TRC-Board (RS 232 serial interface, digital inputs and relays)

Table of Contents