EasyManua.ls Logo

Yamaha CS1D - Page 236

Yamaha CS1D
630 pages
Print Icon
To Next Page IconTo Next Page
To Next Page IconTo Next Page
To Previous Page IconTo Previous Page
To Previous Page IconTo Previous Page
Loading...
CS1D Reference Manual (Hardware)
6
1
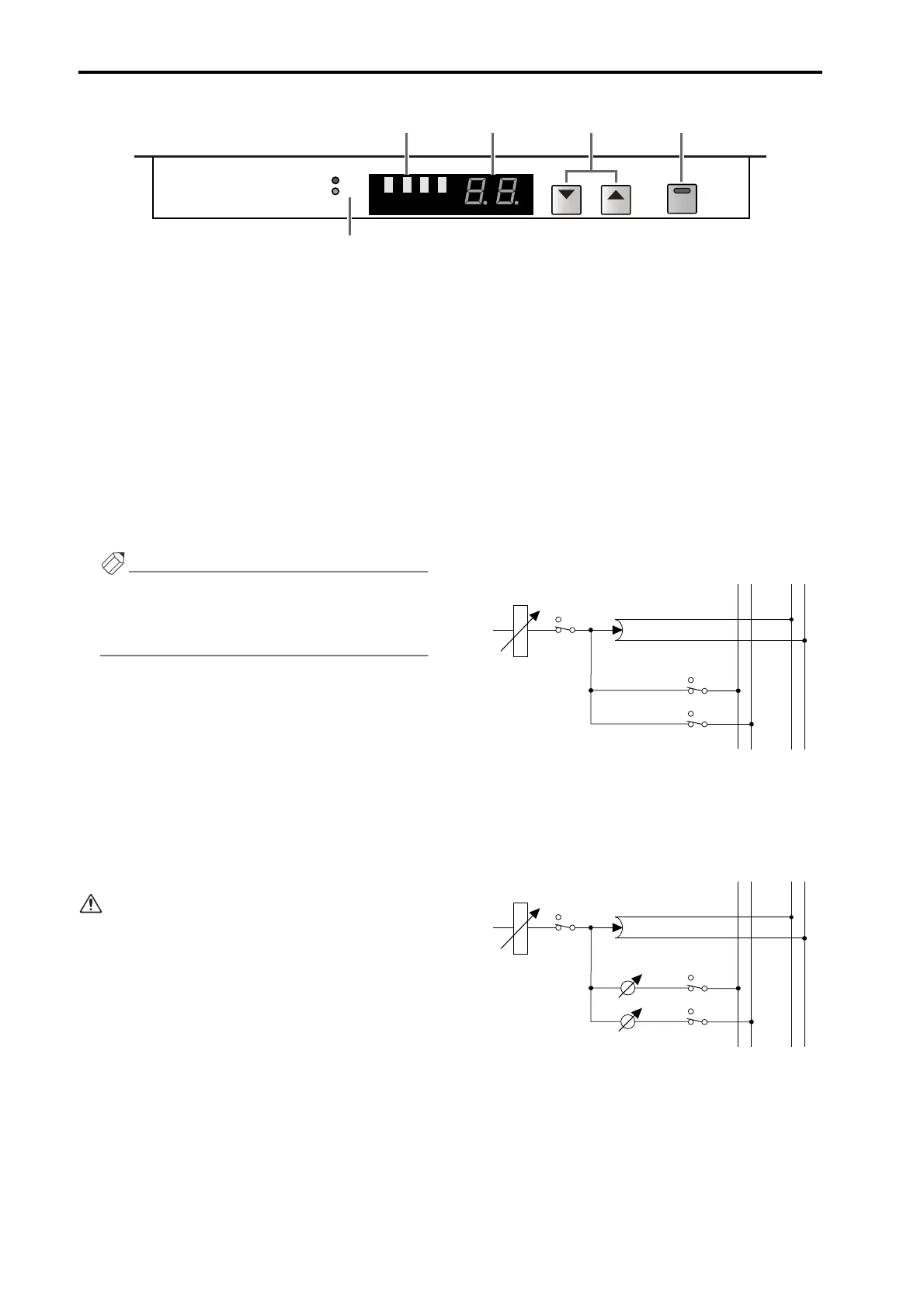
MIX SEND [NAME] indicator
2
MIX SEND [NUMBER] indicator
These indicate the short name and the number 1–48
of the MIX bus currently selected for that INPUT
block.
You can use any of the following ways to select the
MIX bus to which your operation will apply.
1) Use the
MIX SEND [
/DEC]/[
/INC]
switches
2) Use the
MIX [SEL]
switch of the MIX/MATRIX
OUTPUT block
3) Use the
CHANNEL SELECT [
/DEC]/[
/INC]
switches of the SELECTED OUTPUT CHANNEL
block
Hint
If you have turned on the FADER FLIP [MIX] switch
of the SELECTED INPUT CHANNEL block, the
MIX SEND [NAME] indicator will alternately show
“FLIP” and the short name.
3
MIX SEND [
/DEC]/[
/INC] switches
These switches select the MIX bus 1–48 to which
your operation will apply.
If you press the MIX SEND [
/INC] switch, the next
higher-numbered MIX bus will be selected. (If MIX
bus 48 is selected, you will wrap around to MIX bus
1.)
If you press the MIX SEND [
/DEC] switch, the
next lower-numbered MIX bus will be selected. (If
MIX bus 1 is selected, you will wrap around to MIX
bus 48.)
When the CS1D is in its default state, changing the
MIX bus that is the object of operations in one
INPUT block will also cause the MIX bus selected
for the other INPUT blocks to be switched in tan-
dem. However, if the MIX SEND [LOCAL] switch
(5) is turned on for an INPUT block, you will be
able to select its MIX bus independently of the
other INPUT blocks.
4
MIX SEND [FIX]/[VARI] LED
This LED indicates the type of MIX bus that is cur-
rently selected.
MIX buses 1–48 of the PM1D system are in pairs of
odd and even numbers (MIX buses 1/2, 3/4, ...). You
are free to select one of two types for each pair.
FIX (fixed)
These MIX buses have a fixed send level. Select this
type when you wish to use the MIX bus as a bus out-
put for group output or for recording on MTR.
VARI (variable)
These MIX buses have a variable send level. Select
this type when you wish to use the MIX bus as a fold-
back/effect send.
The type selection is made in the display (PAN/
ROUTING function, CH to MIX screen).
Signal flow when FIX is selected as the type for MIX
buses 1/2
Signal flow when VARI is selected as the type for MIX
buses 1/2
*Each of the above diagrams show only one exam-
ple of standard signal routing. For details on sig-
nal routing, please refer to the block diagram on
page 38.
FIX
LOCAL
VARI
MIX SEND
1
4
2 3 5
DEC INC
INPUT CHANNEL
MIX1
MIX2
STEREO L
STEREO R
……
……
FADER
ON
ON
ON
PAN
MIX1 (ODD)
MIX2 (EVEN)
MIX1
MIX2
STEREO L
STEREO R
……
……
FADER
INPUT CHANNEL
ON
ON
ON
PAN
MIX1 (ODD)
MIX2 (EVEN)

Table of Contents

Other manuals for Yamaha CS1D

Related product manuals