EasyManua.ls Logo

Yamaha CS1D - Connect an Input Source

Yamaha CS1D
630 pages
Print Icon
To Next Page IconTo Next Page
To Next Page IconTo Next Page
To Previous Page IconTo Previous Page
To Previous Page IconTo Previous Page
Loading...
CS1D Operating Manual (Start-up)
40
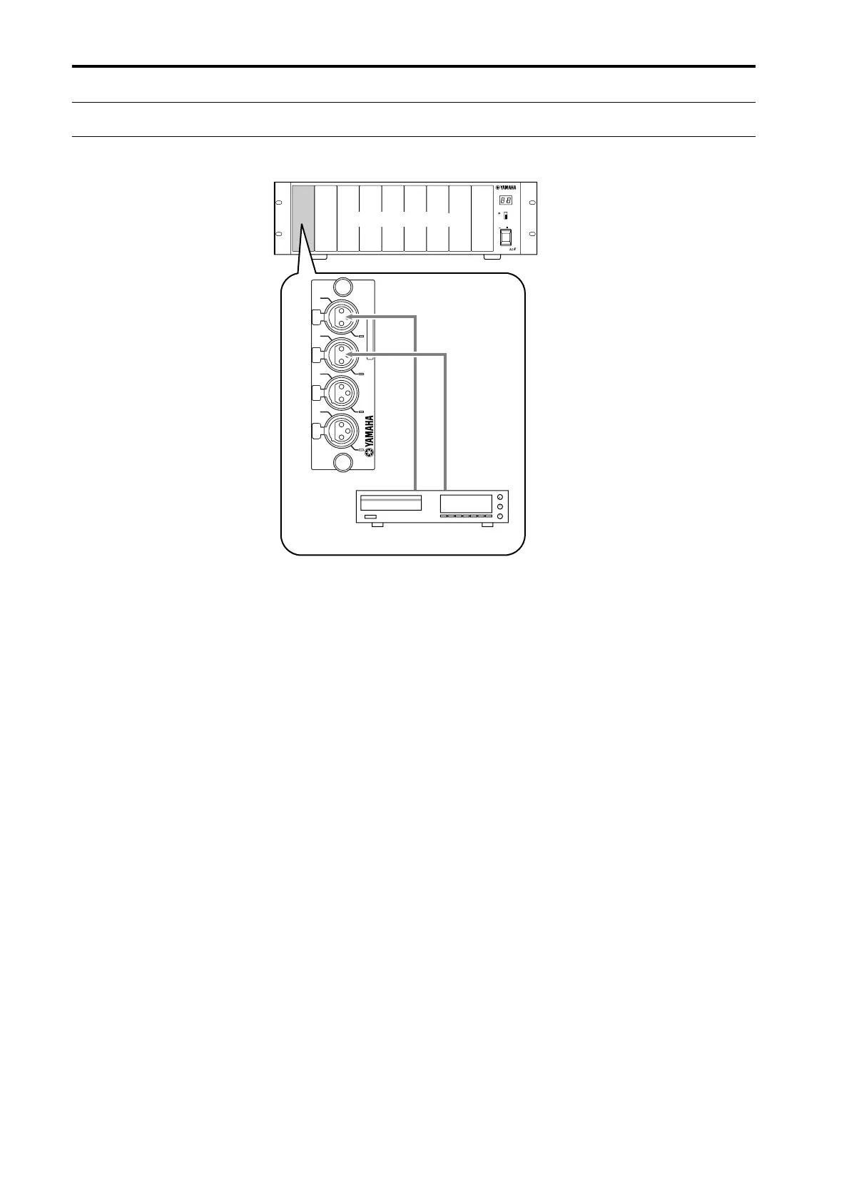
Connect an input source
As a sound source for checking, connect a line output device such as a CD player or DAT recorder to an input unit.
INPUT UNIT NO.
PHANTOM MASTER
ON
OFF
+48V
POWER
ON/ OFF
12345 678
ANALOG INPUT BOX
ANALOG IN
CH4
SIGNAL
SIGNAL
AD CARD
MODEL LMY4-AD
SIGNAL
SIGNAL
CH3 CH2 CH1
LR
CD player/DAT recorder
AI8 analog input unit

Table of Contents

Other manuals for Yamaha CS1D

Related product manuals