EasyManua.ls Logo

Yamaha CS1D - Page 32

Yamaha CS1D
630 pages
Print Icon
To Next Page IconTo Next Page
To Next Page IconTo Next Page
To Previous Page IconTo Previous Page
To Previous Page IconTo Previous Page
Loading...
Connections (Mirror mode)
11
Hint
If both digital input/output connectors 1 and 2 are
connected, connector 1 will be given priority when
the power is turned on.
If the word clock stops being supplied from either
connector 1 or 2 (whichever is the currently-used
connector), the receiving device will automatically
switch to the other connector.
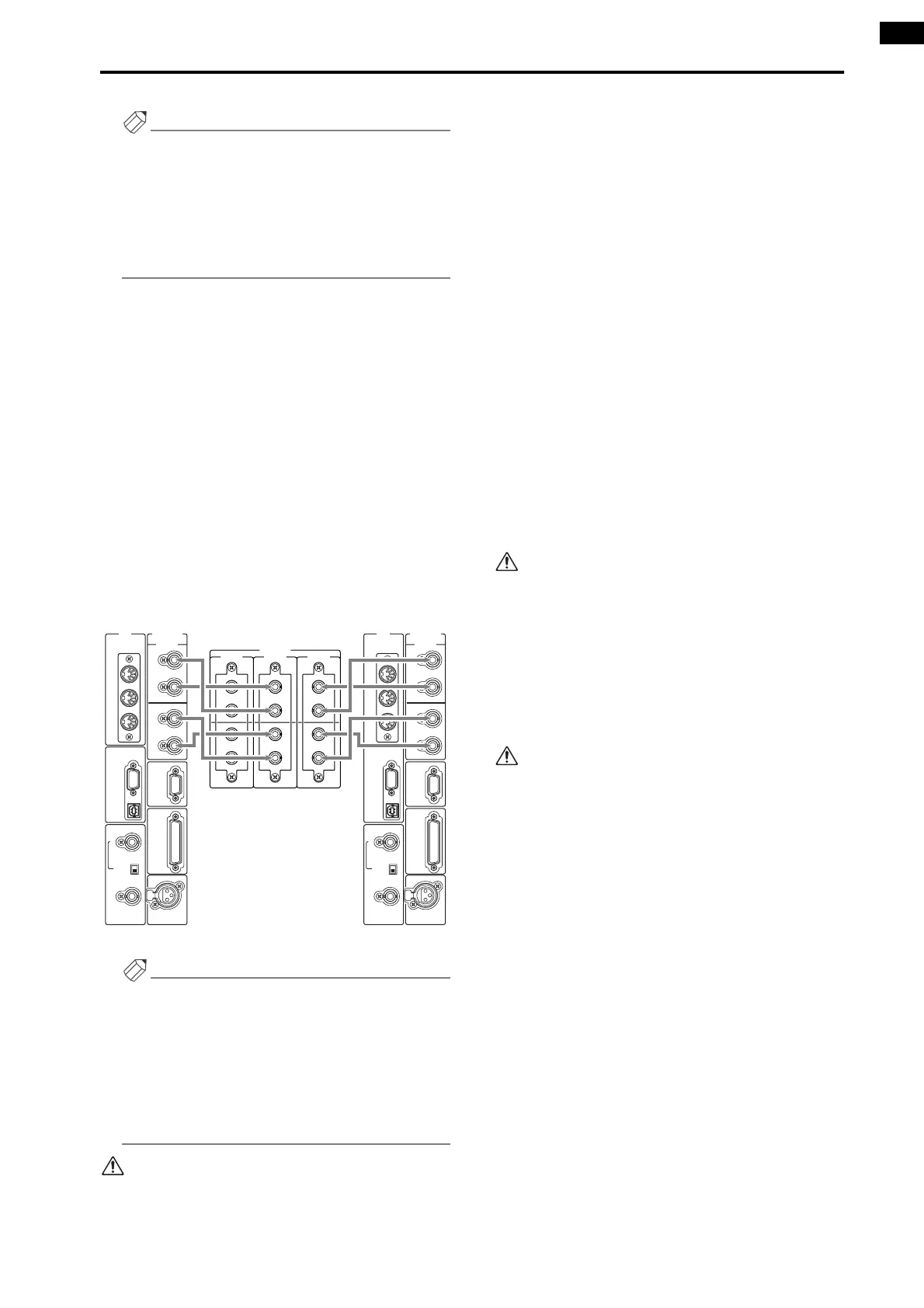
2 Control input/output connections
Use BNC cables (50) to connect the CONTROL I/
O ENGINE A IN and OUT connectors of the console
to the CONTROL I/O OUT and IN connectors of
engine A. In the same way, connect the CONTROL I/
O ENGINE B IN and OUT connectors of the console
to the CONTROL I/O OUT and IN connectors of
engine B. These connectors transmit and receive
control signals between the console and engines A/B.
The console and engines A/B each have two identical
sets of connectors, numbered 1 and 2. These two sets
of connectors are completely identical, and the sys-
tem will operate normally if just one set is connected.
However, you may connect both 1 and 2 so that one
of them can be used as a backup.
This method of connection is recommended for
most cases.
Hint
If both control input/output connectors 1 and 2 are
connected, connector 1 will be given priority when
the power is turned on.
Control output connectors 1/2 will always output the
same signals. If the currently-used control output
connector stops functioning correctly, the receiving
device will automatically switch to the other connec-
tor.
You must connect the identically-numbered con
-
nectors of the console and engine to each other. If
differently-numbered connectors are connected to
each other, the system will not function correctly.
3
Power supply connections
Use the included special cable to connect the DC
POWER INPUT connector of the console to the DC
OUTPUT connector of the PW1D power supply.
The rear panel of the console has two DC POWER
INPUT connectors, A and B. If you are using only
one power supply, you may connect it to either DC
POWER INPUT connector.
You can also connect two power supplies to the two
DC POWER INPUT connectors A and B. If this con-
nection method is used, the PM1D system will con-
tinue to operate even if one of the power supplies
should unexpectedly fail, since the other power sup-
ply will continue to supply power to the system.
4
Word clock connections
Use BNC cables (75
) to connect the clock output
connector of an external clock generator to the
WORD CLOCK IN connector of the console, and to
the WORD CLOCK IN connectors of engines A/B.
Connect the word clock transmitting and receiving
devices in a one-to-one relationship, and turn on the
75
screen for the receiving device.
The word clock transmission/reception circuit is
designed with one-to-one connection in mind. For
this reason, if you connect multiple receiving
devices to a single clock transmission connector,
performance may be impaired and the system may
fail to operate correctly.
If you cannot avoid using this type of connection,
turn on the 75
switch for one of the receiving
devices, and turn off the 75
switches for all
remaining devices.
In Mirror mode, you can also switch to the other
engine manually if the currently-used engine expe-
riences difficulties.
In order to minimize the clock switching time in
such cases, we recommend that you supply a word
clock from an external clock generator to the con-
sole and to engines A/B.
Of course, switching will occur even without this
type of supply method.
22
22
IN
OUT
IN
2
OUT
IN
1
OUT
THRU
PC
CONTROL
WORD CLOCK
TIME CODE IN
GPI
RS-422
REMOTE
IN
OUT
OFF
ON
RS-232-C
USB
75
MIDI CONTROL I/O
CONSOLE
22
22
IN
OUT
IN
2
OUT
IN
1
OUT
THRU
PC
CONTROL
WORD CLOCK
TIME CODE IN
GPI
RS-422
REMOTE
IN
OUT
OFF
ON
RS-232-C
USB
75
MIDI CONTROL I/O
CONSOLE
CONSOLE ENGINE B ENGINE A
IN
1
2
OUT
IN
OUT
IN
1
2
OUT
IN
OUT
IN
1
2
OUT
IN
OUT
CONTROL I/O
Console (CS1D)
Engine B Engine A

Table of Contents

Other manuals for Yamaha CS1D

Related product manuals