EasyManua.ls Logo

Yamaha CS1D - Page 378

Yamaha CS1D
630 pages
Print Icon
To Next Page IconTo Next Page
To Next Page IconTo Next Page
To Previous Page IconTo Previous Page
To Previous Page IconTo Previous Page
Loading...
Global functions
30
2 ECHO
If this button is on, the program change message
received at the MIDI IN connector will be echoed-
back from the MIDI OUT connector.
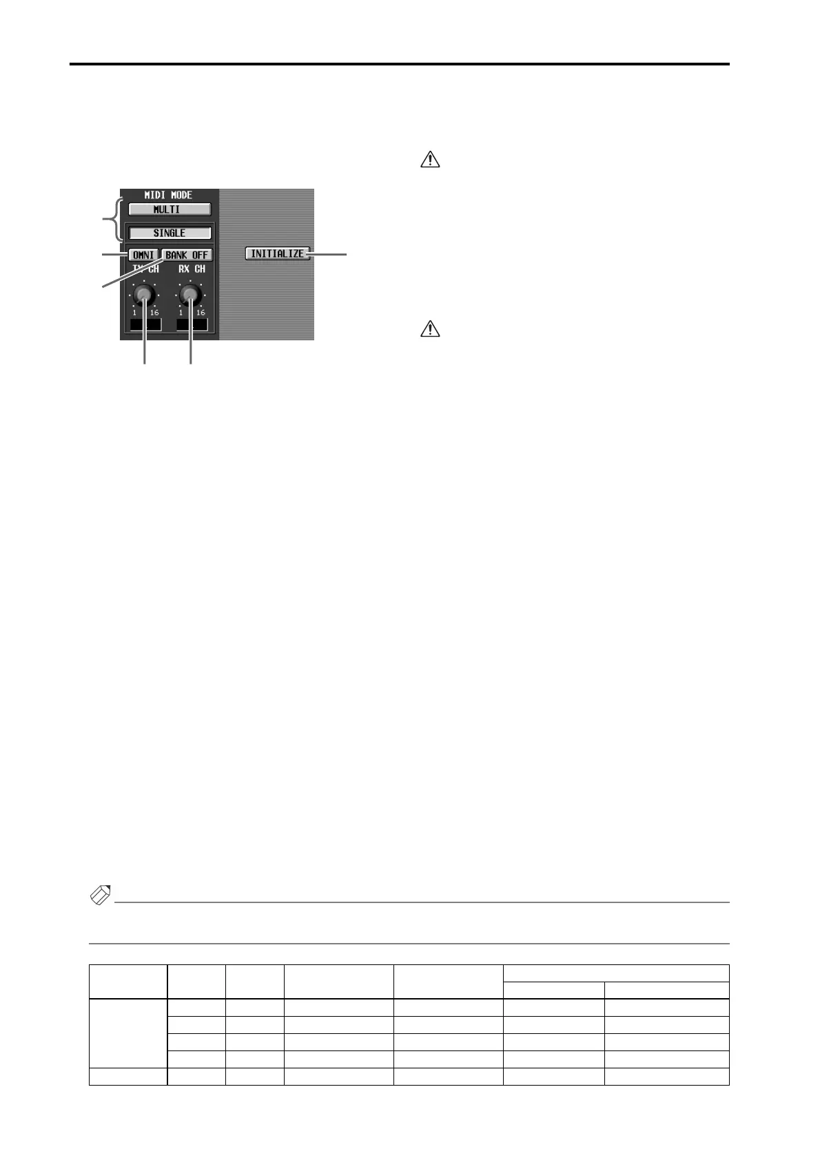
3 MIDI MODE
These buttons select one of the following two modes
by which program changes will be transmitted and
received.
Single mode (when the SINGLE button is on)
In this mode, program changes will be transmitted/
received using a single MIDI channel.
In this mode, program changes 1–128 that are
received on the MIDI channel (RX CH) specified by
the RX CH knob (7) will execute the event that has
been assigned to each program number.
When you execute the corresponding event on the
CS1D, a program change 1–128 will be transmitted
to an external device on the MIDI channel (TX CH)
specified by the TX CH knob (6).
If this mode is selected, turning the BANK button
(5) on will allow more selections (a maximum of
2,048) to be made using a single MIDI channel than
would be possible when using program changes 1–
128 alone.
Multi mode (when the MULTI button is on)
In this mode, program changes will be transmitted/
received using multiple MIDI channels.
In this mode, program changes 1–128 that are
received on MIDI channels 1–16 will execute the
event that has been assigned to each MIDI channel/
program number.
When you execute the corresponding event on the
CS1D, a program change 1–128 will be transmitted
to an external device on a MIDI channel 1–16.
In Multi mode, the OMNI button (4), BANK ON/
OFF button (5), and TX CH/RX CH knobs (67)
will have no effect.
4 OMNI
If this button is on when Single mode is selected,
program change messages can be received on all
MIDI channels.
If Multi mode is selected, this button will have no
effect.
Do not confuse Single mode/OMNI=ON with
Multi mode. When the OMNI button is on, only
the events assigned to program changes 1–128 of
the RX CH can be executed.
5 BANK (bank select)
If this button is on when Single mode is selected,
Bank Select messages can be transmitted/received.
When messages are received in the sequence of Bank
Select 1–16 Program Change 1–128 on the RX
CH, the events assigned to the corresponding bank
number/program number will be executed.
When the corresponding event is executed on the
CS1D, messages will be transmitted on the TX CH in
the sequence of Bank Select 1–16 Program
Change 1–128.
If Multi mode is selected, this button has no effect.
6 TX CH (transmit channel)
If Single mode is selected, this knob selects the MIDI
transmit channel.
If Multi mode is selected, this knob has no effect.
7 RX CH (receive channel)
If Single mode is selected, this knob selects the MIDI
receive channel.
If Multi mode is selected, this knob has no effect.
8 INITIALIZE
This button initializes the events assigned to the pro-
gram change numbers.
Hint
The following table shows the MIDI channels and types of message that can be transmitted/received in Single mode
or Multi mode.
8
3
4
5
6
7
MIDI mode OMNI BANK
MIDI channels that
can be received
MIDI channels that
can be transmitted
Messages that can be transmitted/received
BANK SELECT PROGRAM CHANGE
Single
OFF OFF RX CH only TX CH only -- 1–128
ON OFF CH 1–16 TX CH only -- 1–128
OFF ON RX CH only TX CH only 1–16 1–128
ON ON CH 1–16 TX CH only 1–16 1–128
Multi -- -- CH 1–16 CH 1–16 -- 1–128

Table of Contents

Other manuals for Yamaha CS1D

Related product manuals