EasyManua.ls Logo

Yamaha CS1D - Page 427

Yamaha CS1D
630 pages
Print Icon
To Next Page IconTo Next Page
To Next Page IconTo Next Page
To Previous Page IconTo Previous Page
To Previous Page IconTo Previous Page
Loading...
OUT PATCH (output patch) functions
79
OUT PATCHOUT INSERTOUT EQOUT COMPOUT DELAY
OUT DCA/MUTE
MATRIX/STOUT CH VIEW
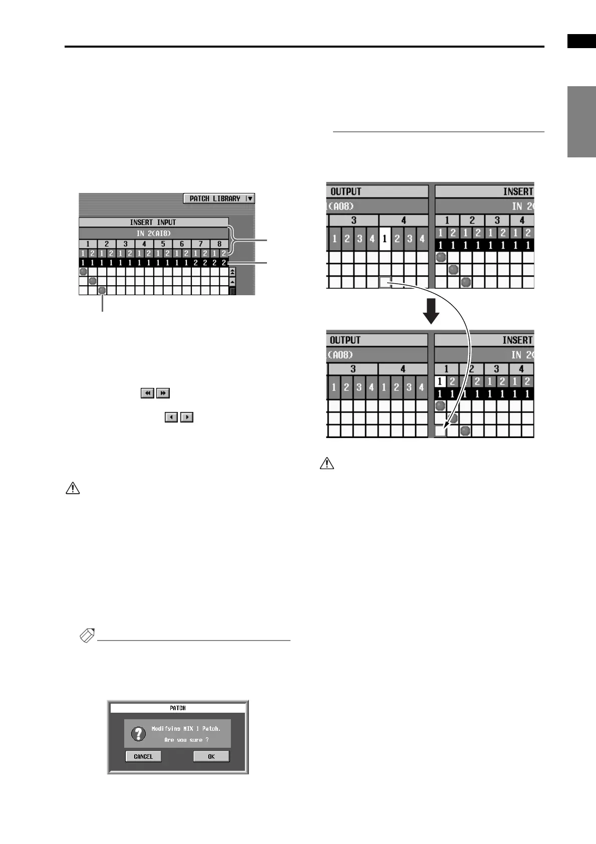
6 Grid
This grid allows output jacks (horizontal lines) to be
patched to input channels (vertical columns). Cur-
rently-patched grids are indicated by a symbol.
Move the cursor to the desired grid and press the
[ENTER] switch (or click) to set/defeat a patch.
7 IN UNIT/SLOT/CH (input unit/slot/channel)
In order from the top, these are the type and number
of the input unit, the slot number, and the input jack
channel number.
By clicking the buttons at either end of the
input unit/slot line, you can switch the display by
units. By clicking the buttons you can switch
the display by slots.
8 ASSIGN
This shows the total number of channels that are
patched to each input jack.
Even if a channel is not patched within this screen,
it will be counted if it is patched to the input jack in
another screen. However, it will not be counted if it
is patched as a key-in signal.
9 Grid
This grid allows insertion input jacks (horizontal
lines) to be patched to input channels (vertical col-
umns). Currently-patched grids are indicated by a
symbol. Move the cursor to the desired grid, and
press the [ENTER] switch (or click) to set/cancel the
patch.
Hint
If PATCH CONFIRMATION is turned on in the
UTILITY function PREFERENCE screen, a popup
window will ask you for confirmation each time you
attempt to change the patch settings.
If you wish to use console switches to move the cur-
sor from the right grid (INSERT OUT) to the left
grid (INSERT IN), or in the opposite direction, hold
down the [SHIFT/GRAB] switch and use the CUR-
SOR []/[®] switches.
Cursor movement using the [SHIFT/GRAB] switch
and CURSOR []/[®] switches
To enable the insert I/O point that you assigned in
this screen, you must turn on the INS. button for the
corresponding output channel, located in the OUT
PATCH function INSERT POINT screen or in the
INSERT VIEW screen. (p.80, 81)
Be aware that if the INS. button for an output chan-
nel is turned on when either the input or output jack
is unpatched, the correct signal will no longer be out-
put from that output channel.
9
7
8
[SHIFT/GRAB] switch
+
CURSOR [
®] switch

Table of Contents

Other manuals for Yamaha CS1D

Related product manuals