EasyManua.ls Logo

Bruker BioSpin Solid State NMR - Figure 3.8. Triple Resonance Experiment, Without X-Y Decoupling; Figure 3.9. Triple Resonance Experiment, with X-Y Decoupling

Default Icon
328 pages
Print Icon
To Next Page IconTo Next Page
To Next Page IconTo Next Page
To Previous Page IconTo Previous Page
To Previous Page IconTo Previous Page
Loading...
RF-Filters in the RF Pathway
User Manual Version 002 BRUKER BIOSPIN 23 (327)
Please note in Figure 3.7.
: Only high power preamps allow decoupling through
the preamp.
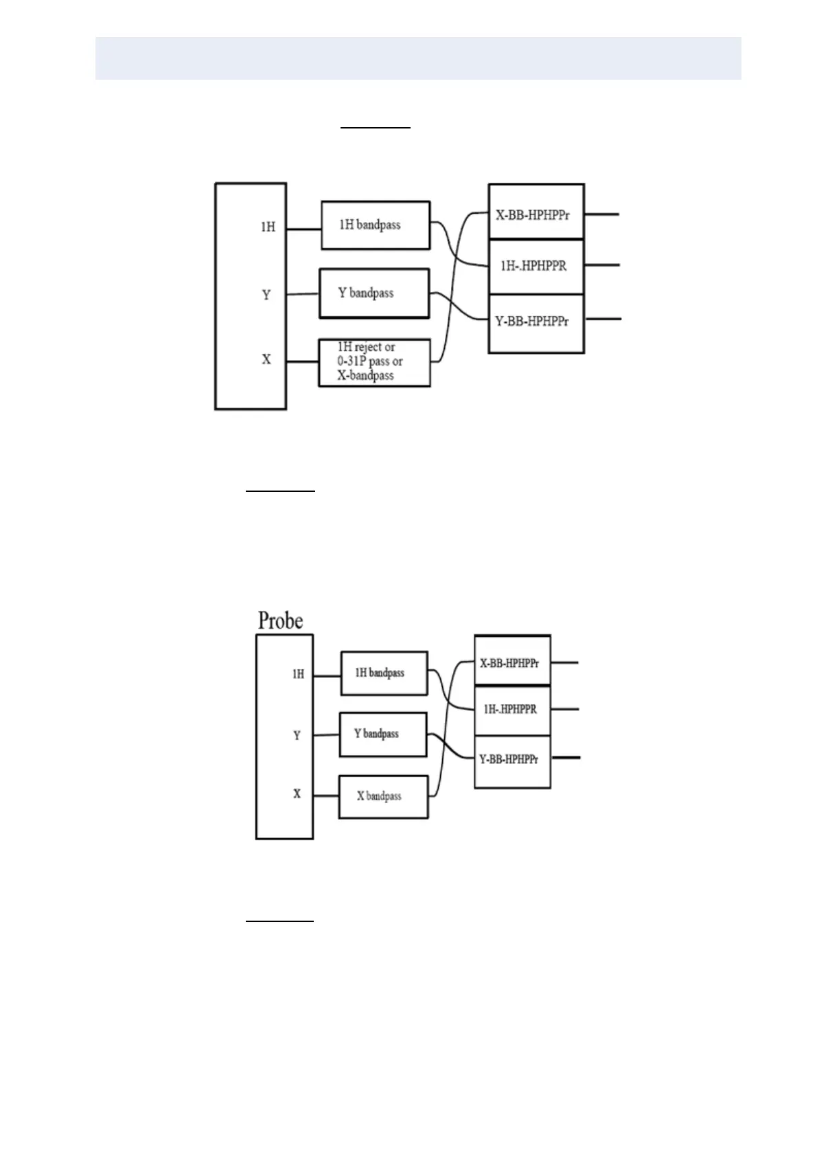
Figure 3.8. Triple Resonance Experiment, without X-Y Decoupling
Figure 3.8.
is a triple resonance experiment, without X-Y decoupling (one band-
pass will suffice), note the preamp configuration. It is recommended not to put two
preamps of the same kind next to each other in order to avoid incorrect wiring of
probe and filters. For the X-channel, only the proton frequency needs to be filtered
out if X or Y is not decoupled while Y or X is observed (protons are usually decou-
pled).
Figure 3.9. Triple Resonance Experiment, with X-Y Decoupling
Figure 3.9.
is a triple resonance experiment, with X-Y decoupling (two band pass-
es required! Care should be taken that the two bandpass filters mutually exclude
the other frequency as efficiently as possible. Low pass filters will not allow X or Y
observe while Y or X is decoupled!).

Table of Contents

Related product manuals