EasyManua.ls Logo

Belarus 892 - Rear Axle Differential Lock (DL); Differential Lock Clutch

Belarus 892
312 pages
Print Icon
To Next Page IconTo Next Page
To Next Page IconTo Next Page
To Previous Page IconTo Previous Page
To Previous Page IconTo Previous Page
Loading...
892-0000010B OM
102
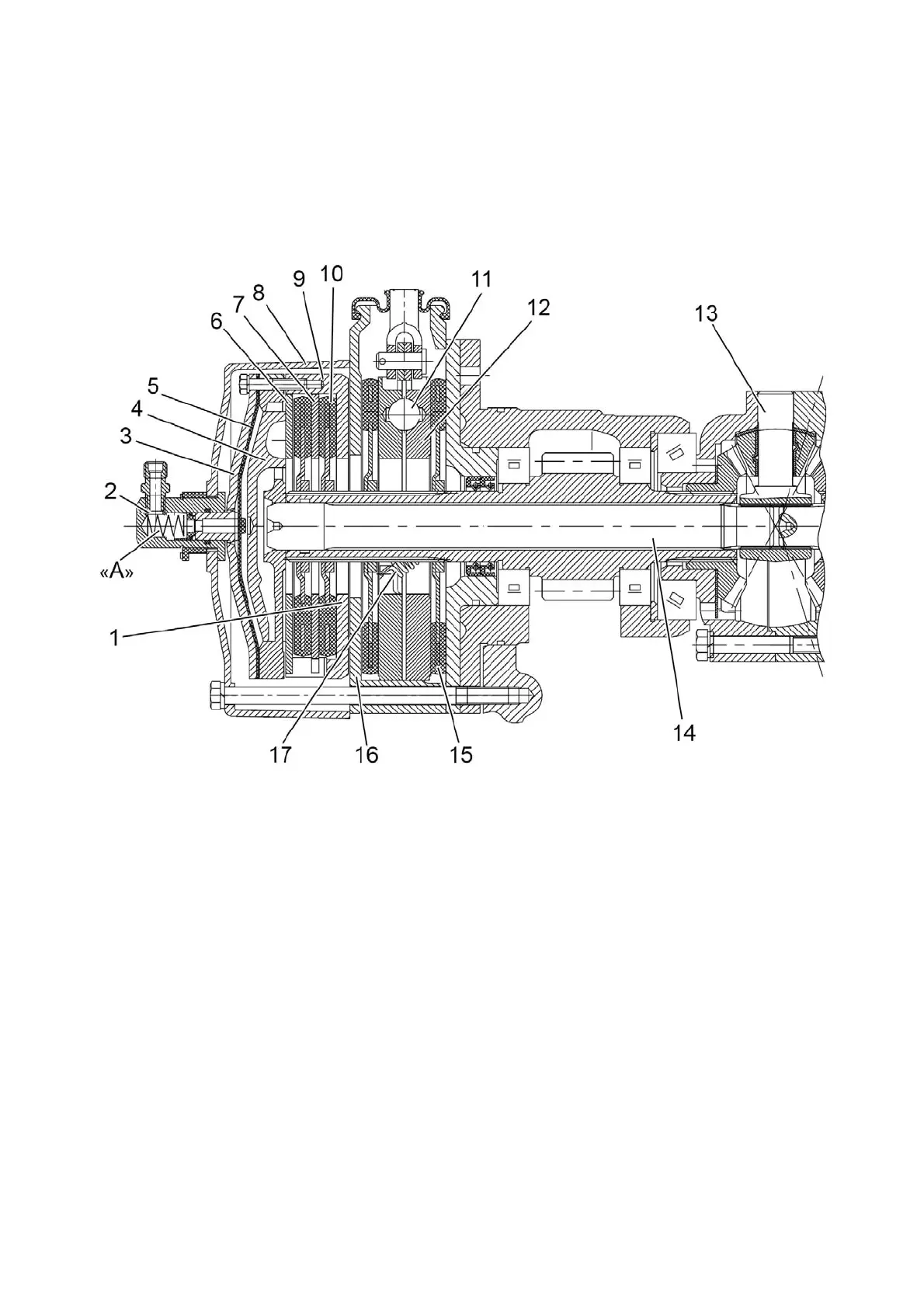
3.4.5 Rear axle differential lock (DL)
3.4.5.1 Differential lock clutch
The multi-plate hydraulically controlled differential lock clutch 1 (Figure 3.4.2) is located in
casing 8, which is bolted to the rear axle housing through the casing of the left double-disc brake
and the bearing cage. In casing 16 of the two-disc dry service brake, brake discs 15, pressure
discs 12, balls 11 and springs 17 are mounted.
1 - lock clutch; 2 - adapter; 3 - diaphragm cover; 4 - DL pressure disk; 5 - diaphragm;
6 - release disk; 7 - intermediate disk; 8 - DL clutch casing; 9 - clutch housing; 10 - disk of
friction lock clutch; 11 - ball; 12 - pressure brake disc; 13 - differential cross; 14 - locking
shaft; 15 - brake disc; 16 - casing of the left service brake; 17 - springs.
Figure 3.4.2 Differential lock clutch
The clutch consists of locking shaft 14 connected to differential cross 13 by means of
splines, housing 9, pressure disk 4, release disk 6, diaphragm 5, cover 3, adapter 2 and
disks 10 mounted on the splines of the left drive gear of the final drive.
When oil is supplied under pressure from the DL hydraulic control system to the work-
ing cavity "A", diaphragm 5 with pressure disk 4 move and press disks 10 against the sup-
porting surfaces of housing 9, intermediate disk 7 and release disk 6, thus locking the differ-
ential (differential cross with the left axle shaft gear).

Table of Contents

Related product manuals