EasyManua.ls Logo

Belarus 892 - Features of Dismantling, Installation and Adjustment of the Clutch; General Information

Belarus 892
312 pages
Print Icon
To Next Page IconTo Next Page
To Next Page IconTo Next Page
To Previous Page IconTo Previous Page
To Previous Page IconTo Previous Page
Loading...
892-0000010B OM
82
3.2.2 Features of dismantling, installation and adjustment of the clutch
3.2.2.1 General information
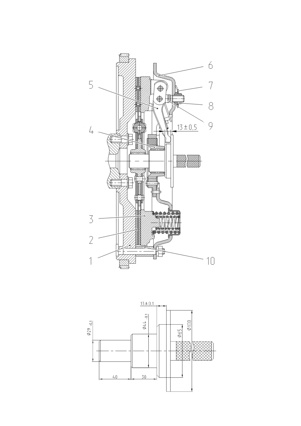
1 - flywheel; 2 - driven plate; 3 - pressure plate; 4 - floating bushing; 5 - release lever;
6 – backing plate; 7 - locking plate; 8 - adjusting nut; 9 - yoke; 10 - bushing.
Figure 3.2.2 – Installation, dismantling and adjustment of clutch release levers
Figure 3.2.3 – Technological mandrel

Table of Contents

Related product manuals