EasyManua.ls Logo

Belarus 892 - Adjustment of the FDA Wheel Gear Group Turning Angle

Belarus 892
312 pages
Print Icon
To Next Page IconTo Next Page
To Next Page IconTo Next Page
To Previous Page IconTo Previous Page
To Previous Page IconTo Previous Page
Loading...
892-0000010B OM
166
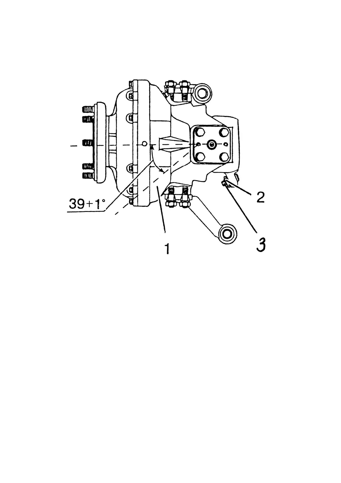
3.16.2.3 Adjustment of the FDA wheel gear group turning angle
The maximum turning angle of wheel gear group housing 1 (Figure 3.16.7) from the
position corresponding to the straightline movement is 40
0
. Adjust with screw 3. Lock screw
with locknut 2.
1 – wheel gear group of FDA final drive; 2 – locknut; 3 – adjusting screw
Figure 3.16.7 Adjustment of the FDA wheel gear group turning angle

Table of Contents

Related product manuals