EasyManua.ls Logo

Belarus 892 - Page 128

Belarus 892
312 pages
Print Icon
To Next Page IconTo Next Page
To Next Page IconTo Next Page
To Previous Page IconTo Previous Page
To Previous Page IconTo Previous Page
Loading...
892-0000010B OM
128
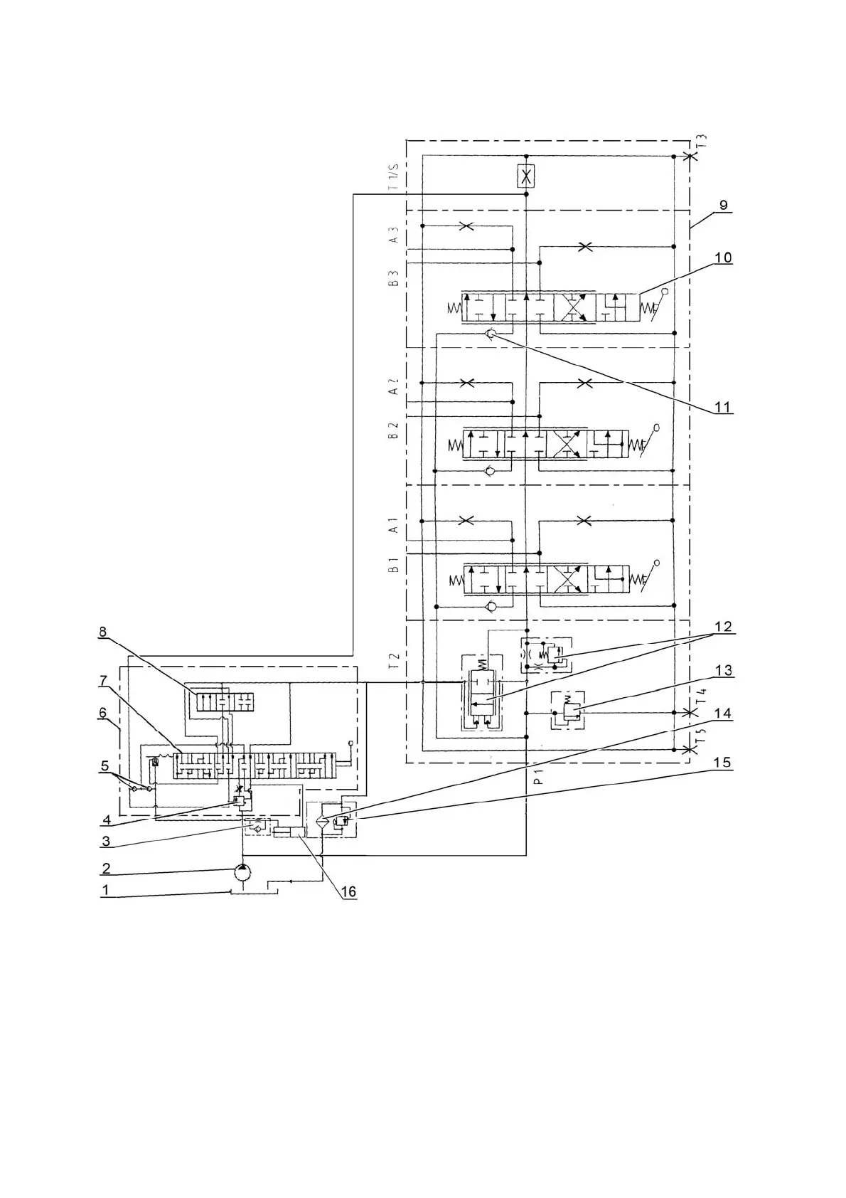
The HLL circuit hydraulic diagram with the RS-213 BELARUS distributor installed is
shown in Figure 3.11.5.
1 - tank; 2 - pump; 3 - retarding valve; 4 - priority valve; 5 - check valve; 6 draft
(positional) control unit; 7 - sleeve; 8 - spool; 9 - RS-213 BELARUS distributor; 10 - spool;
11 - check valve; 12 - bypass valve; 13 - safety valve; 14 hydraulic system filter; 15 -
filter valve; 16 - cylinder.
Figure 3.11.5 HLL circuit hydraulic diagram with the RS-213 BELARUS distributor
installed.

Table of Contents

Related product manuals