EasyManua.ls Logo

Belarus 892 - Page 127

Belarus 892
312 pages
Print Icon
To Next Page IconTo Next Page
To Next Page IconTo Next Page
To Previous Page IconTo Previous Page
To Previous Page IconTo Previous Page
Loading...
892-0000010B OM
127
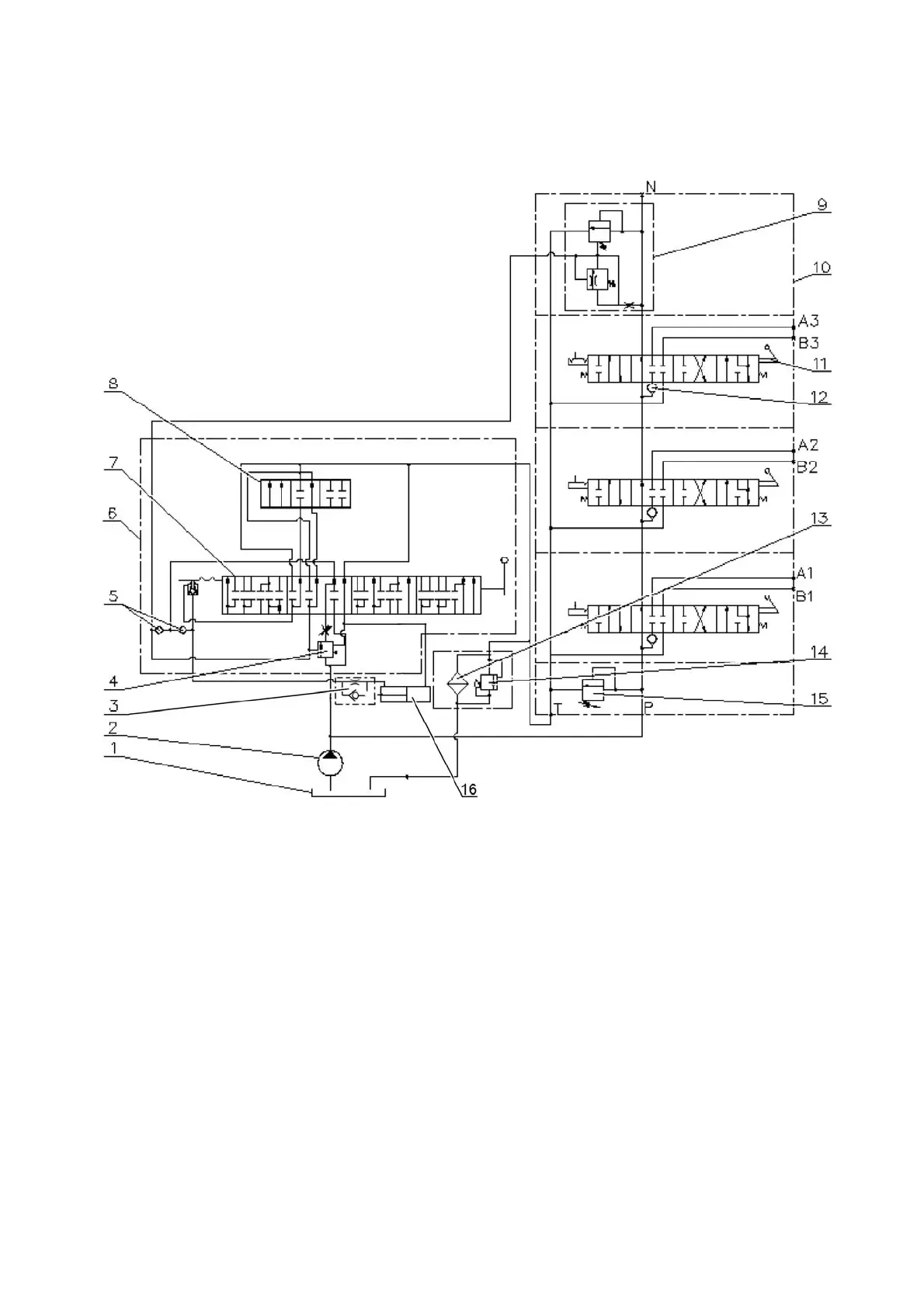
The HLL circuit hydraulic diagram with the RP70-1221.1S distributor installed is
shown in Figure 3.11.4.
1 - tank; 2 - pump; 3 - retarding valve; 4 - priority valve; 5 - check valve; 6 - draft
(positional) control unit; 7 - sleeve; 8 - spool; 9 - bypass valve; 10 - RP70-1221.1S
distributor; 11 - spool; 12 - check valve; 13 - hydraulic system filter; 14 - filter valve; 15
- safety valve; 16 - cylinder.
Figure 3.11.4 HLL circuit hydraulic diagram with the RP70-1221.1S distributor in-
stalled.

Table of Contents

Related product manuals