EasyManua.ls Logo

Belarus 892 - Page 126

Belarus 892
312 pages
Print Icon
To Next Page IconTo Next Page
To Next Page IconTo Next Page
To Previous Page IconTo Previous Page
To Previous Page IconTo Previous Page
Loading...
892-0000010B OM
126
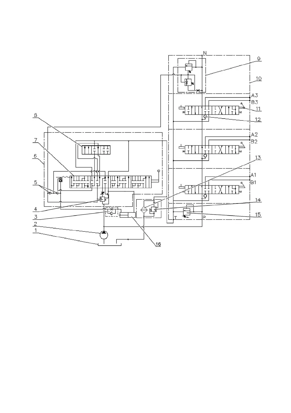
The HLL circuit hydraulic diagram with the RP70-1221TS distributor installed is
shown in Figure 3.11.3.
1 - tank; 2 - pump; 3 - retarding valve; 4 - priority valve; 5 - check valve; 6 - draft
(positional) control unit; 7 - sleeve; 8 - spool; 9 - bypass valve; 10 - RP70-1221TS distributor;
11 - spool; 12 - check valve; 13 - hydraulic system filter; 14 - filter valve; 15 - safety valve;
16 - cylinder.
Figure 3.11.3 HLL circuit hydraulic diagram with the RP70-1221TS distributor in-
stalled.

Table of Contents

Related product manuals