EasyManua.ls Logo

Belarus 892 - Page 249

Belarus 892
312 pages
Print Icon
To Next Page IconTo Next Page
To Next Page IconTo Next Page
To Previous Page IconTo Previous Page
To Previous Page IconTo Previous Page
Loading...
892-0000010B OM
249
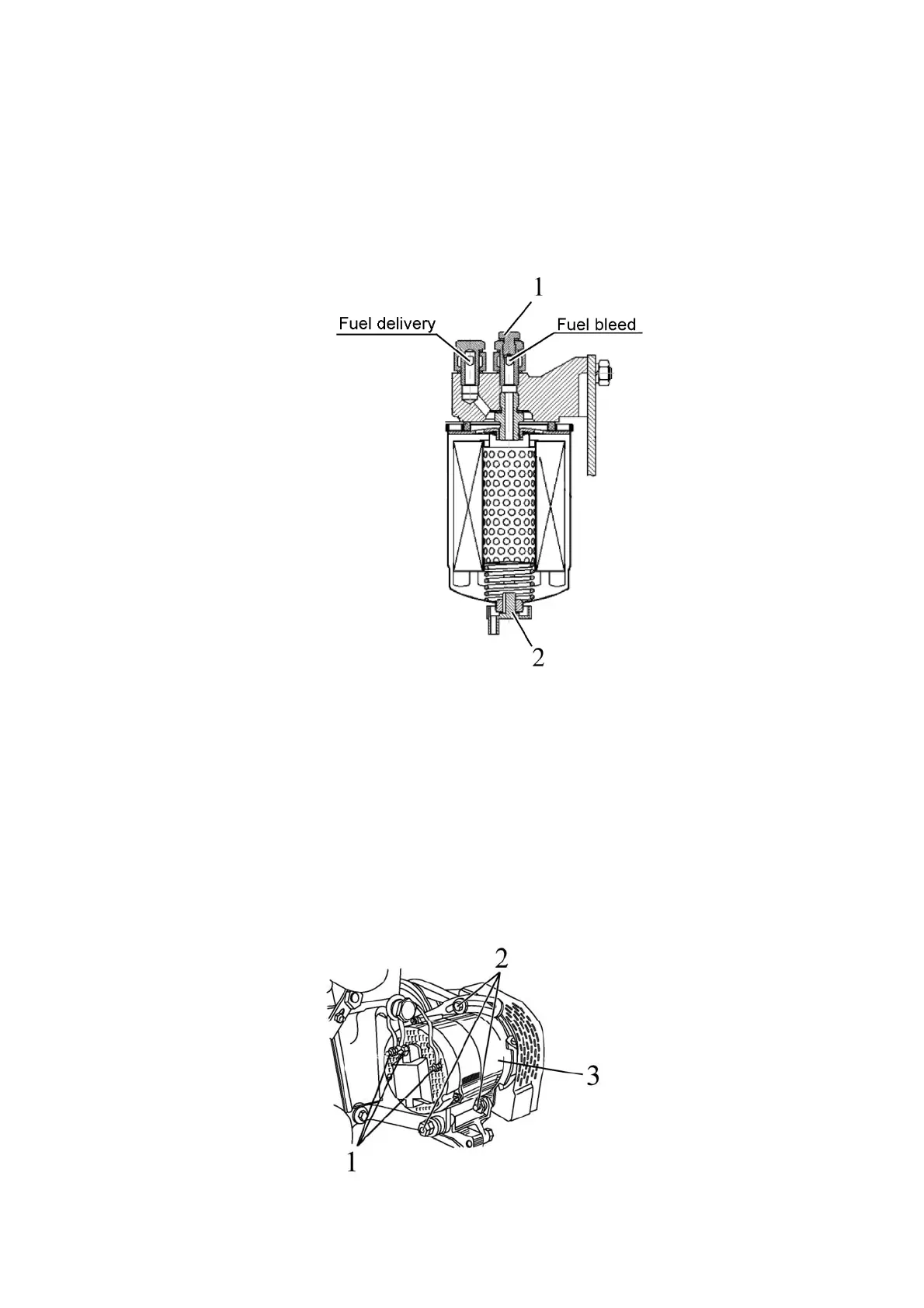
If your tractor is equipped with undismountable fine fuel filter, please drain sediment
in the following way:
- loosen the plug 1 (Figure 6.4.25) by 1...2 revolutions to remove the air;
- unscrew the plug 2 in lower part of filter 1 and drain sediment until clean fuel will
appear, drain sediment in appropriate containers;
- tighten plugs 1 and 2;
- fill the system with fuel (bleed the fuel system) according to section 6.4.5.12 “Oper-
ation 55. Replacing filter of filter cartridge of fine fuel filter.”
1 – air purge plug; 2 – plug for drainage of sediment.
Figure 6.4.25 Drain of sediment from undismountable fine fuel filter of the engine
6.4.3.11 Operation 30. Alternator and starter maintenance
Clean the alternator and starter from dust and dirt.
Check if starter fastening bolts are tighten, if necessary tighten them. Clean out ca-
bles ends to starter terminals and tighten the fastenings.
Check and if necessary tighten fastening bolts 2 (Figure 6.4.26) of alternator 3. Check con-
dition and tightening torque of terminal connections 1 of alternator. If necessary clean them
out and tighten.
1 – terminal connections; 2 – fastening bolts of alternator; 3 – alternator.
Figure 6.4.26 – Alternator maintenance

Table of Contents

Related product manuals