EasyManua.ls Logo

Belarus 892 - Page 93

Belarus 892
312 pages
Print Icon
To Next Page IconTo Next Page
To Next Page IconTo Next Page
To Previous Page IconTo Previous Page
To Previous Page IconTo Previous Page
Loading...
892-0000010B OM
93
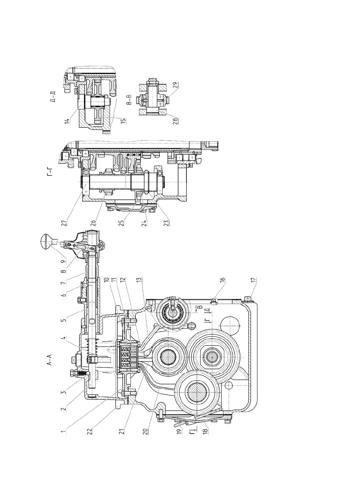
1 - yoke body; 2 - shaft; 3 - ball; 4 - gear lever; 5 - pipe; 6 - stopper; 7 - support; 8 - arm; 9 - gearbox control lever; 10 - retainer balls; 11 -
locking bars; 12 - yoke of 4th and 5th speeds; 13 - arm of range gear unit; 14 - axle of intermediate reverse gear; 15 - intermediate reverse
gear; 16 - check plug; 17 - drain plug; 18 - cover; 19 - oil dipstick; 20 - yoke of 1st speed and reverse; 21 - yoke of 3rd and 6th speeds; 22
- cover; 23 - spring ring; 24 - gear; 25 - driven gear for low speeds and reverse; 26 - gear of low speed and reverse speeds; 27 - shaft o
f
1st speed and reverse; 28 - axle of FDA drive gear; 29 - FDA drive gear
Figure 3.3.2

Table of Contents

Related product manuals