EasyManua.ls Logo

Belarus 892 - Page 146

Belarus 892
312 pages
Print Icon
To Next Page IconTo Next Page
To Next Page IconTo Next Page
To Previous Page IconTo Previous Page
To Previous Page IconTo Previous Page
Loading...
892-0000010B OM
146
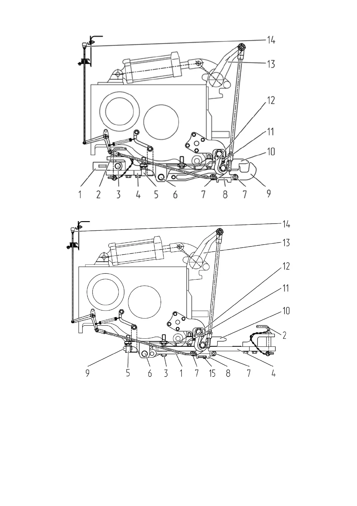
а) hydraulic hook in operating position
b) pendulum in operating position
1 – clevis; 2 – kingpin; 3 – pin; 4 – pendulum; 5 – plate; 6 pin; 7 – pin; 8 – crossbar; 9
– hydraulic hook; 10 – bracket; 11 – bolt; 12 – gripper; 13 – lever; 14 – handle; 15 – pin.
Figure 3.13.8 – Repositioning of pendulum and hydraulic hook in operating
positions

Table of Contents

Related product manuals