EasyManua.ls Logo

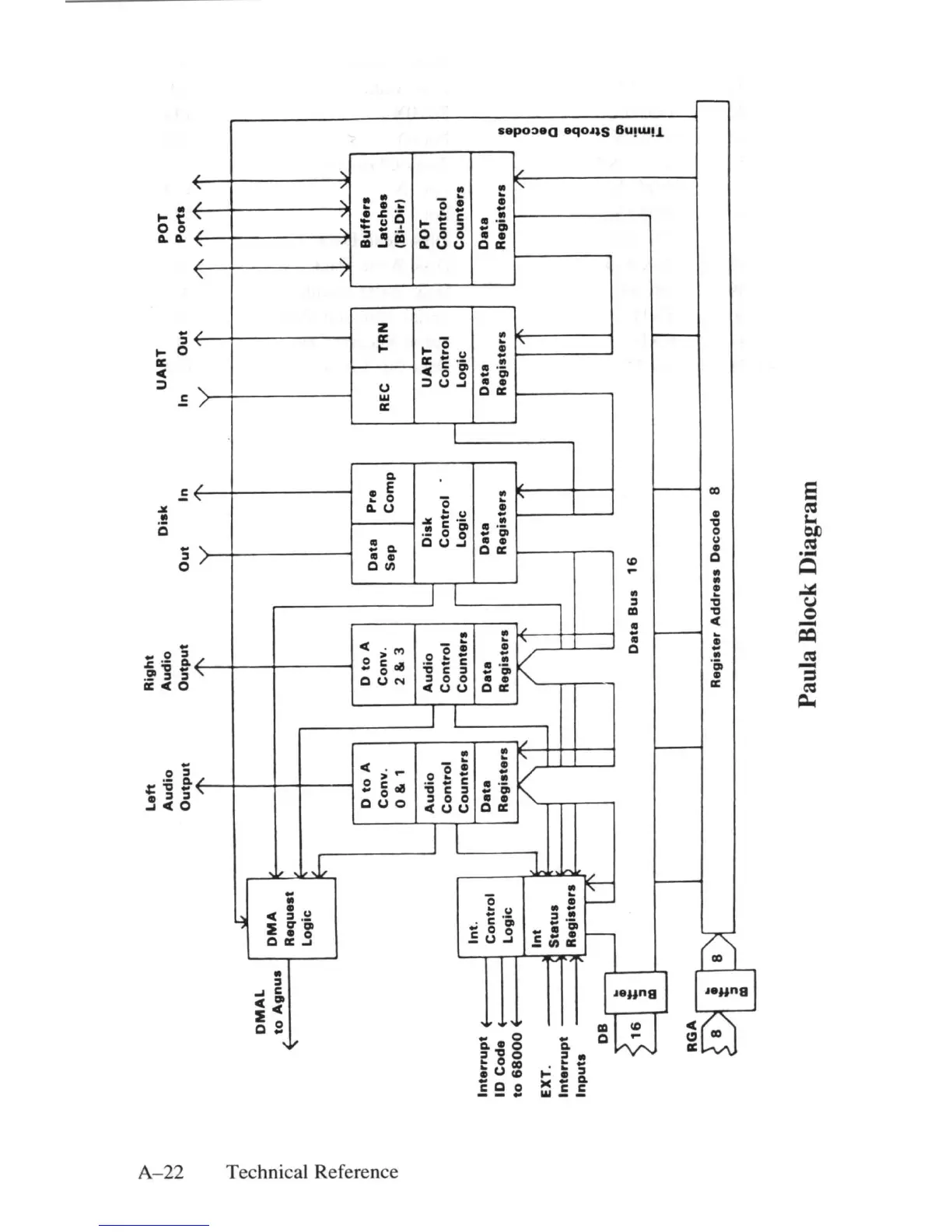
Commodore Amiga 500 - Paula Block Diagram

Commodore Amiga 500
300 pages
Print Icon
To Next Page IconTo Next Page
To Next Page IconTo Next Page
To Previous Page IconTo Previous Page
To Previous Page IconTo Previous Page
Loading...
~
;'
(')
:T
:::l
o·
~
;;0
C1>
0-
~
:::l
(')
C1>
Inte"
10
Co
to
68
EXT.
Inta"
Input
""'-
DMAL
,
to
Agnu.
DMA
Requa.t
Logic
Int.
pt
Cont,ol
'a
Logic
00
Int
pt
StatuI
Ragista,s
DB
r--~
l1
r-
:;
>
16
:;
-
ID
'--
I
~GA
r:-r---.
~
~
i
r
~
-
r
Left
Audio
Output
r-
O
to
A
Cony
.
0&1
Audio
Cont,ol
Counte,.
Data
Ragi.ta,s
./"-
,,'-
-
I--
'--
-
Right
Audio
Output
,r-.
o
to
A
Cony
.
2&3
Audio
Cont,ol
Counte,.
Data
Ragiste,s
A'
r--
-
-
Data
Bus
I
Di.k
Out
In
,
'r-
Data
P,a
Sap
Comp
Di.k
Cont,ol
Logic
Data
Registe,.
16
Ragilta,
Add,a
..
Decoda
8
Paula Block Diagram
UART
In
Out
/
"r--
~.
REC
TRN
UART
Cont,ol
c-
Logic
Data
Register.
POT
Port.
r-
"
r-
'
t..-
Buffa,.
Latcha.
(Bi-Di,)
POT
Cont,ol
Counter.
Data
Ragi.ta,.
"r-
a
~
0
"
a
e
oX
!!
cii
CIt
c
E
j:
J

Table of Contents

Related product manuals