EasyManua.ls Logo

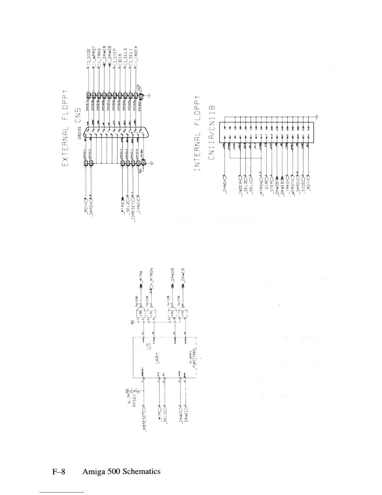
Commodore Amiga 500 - External Floppy; Internal Floppy

Commodore Amiga 500
300 pages
Print Icon
To Next Page IconTo Next Page
To Next Page IconTo Next Page
To Previous Page IconTo Previous Page
To Previous Page IconTo Previous Page
Loading...
T
00
>
3
o(i
'
Ul
8
en
(")
::r
C1>
3
e
V>
I.j.
7K
~
APSOI
~:
_K8AE5HD'
q'
_
"'
TAD
\
~
·
_st
LOD'-
_o
r(
~
m:>
l
-
OK
~
Et.>l-----
-
'I'
~ts)
e
.,
~~
_____
_ M
TA
X
us
I
K
-
:r
.
7~lSlll
.
,
_
~--+~~~--1-IC>_M·AON
GR
A'!'
~;~l_S~
_
B
~_·~
_
OP(
W
OB
JJU}6~lS'1!I
IFLO"
P Y
~
----->>-
'
'''''o
,,
~
_ .
_OK
.
E6
EXTERNRL
FLOPPY
08
235
eN
5
_Aoro---.
( "1.
11
~
(
.
I'll
,.
n-
_O
K
RO
M
TAX
-
SEL?
IDAESET
(HNG
,,
+-
"I
llf
l
" ' " 1
(
IO
II
H $
(
IO
lil
l
.,
(."n "
" I
ll:
II
I
101
" I
"
",
.
~
,
~
.
l
'~
I'
l l
~
" I
c&!'
,
·
1
' 1~
l.
I
'
15
~
'
~
l
.
I
'
U
[ "
IM
l "'
·.12
W
-t
., ( " 1
11
1
V
1
INTERNRL
FLOPPY
C N I I R/ C
NIl
B
_(H
NCO ,
""
"
-~~~~~L
I
'
:
~:
_M
IRO
NII
'
o
IA
'
_STEP , ,
J)I<
W
OB
_DK
W
EB
TAKO
'
_
!<I
PAQT
' )
_OKRO
_SIDE I
_ROT
' ,
:J
_5
1
0E
---X- ,,_WPA
OT
_TAKO
---
_0I'( W
£:
8
OK
w
OB
""'_STEP
IR
"'-'_5EL3
SEll
-T-"'_I
N
OEX

Table of Contents

Related product manuals