EasyManua.ls Logo

Commodore Amiga 500 - Gary Block Diagram

Commodore Amiga 500
300 pages
Print Icon
To Next Page IconTo Next Page
To Next Page IconTo Next Page
To Previous Page IconTo Previous Page
To Previous Page IconTo Previous Page
Loading...
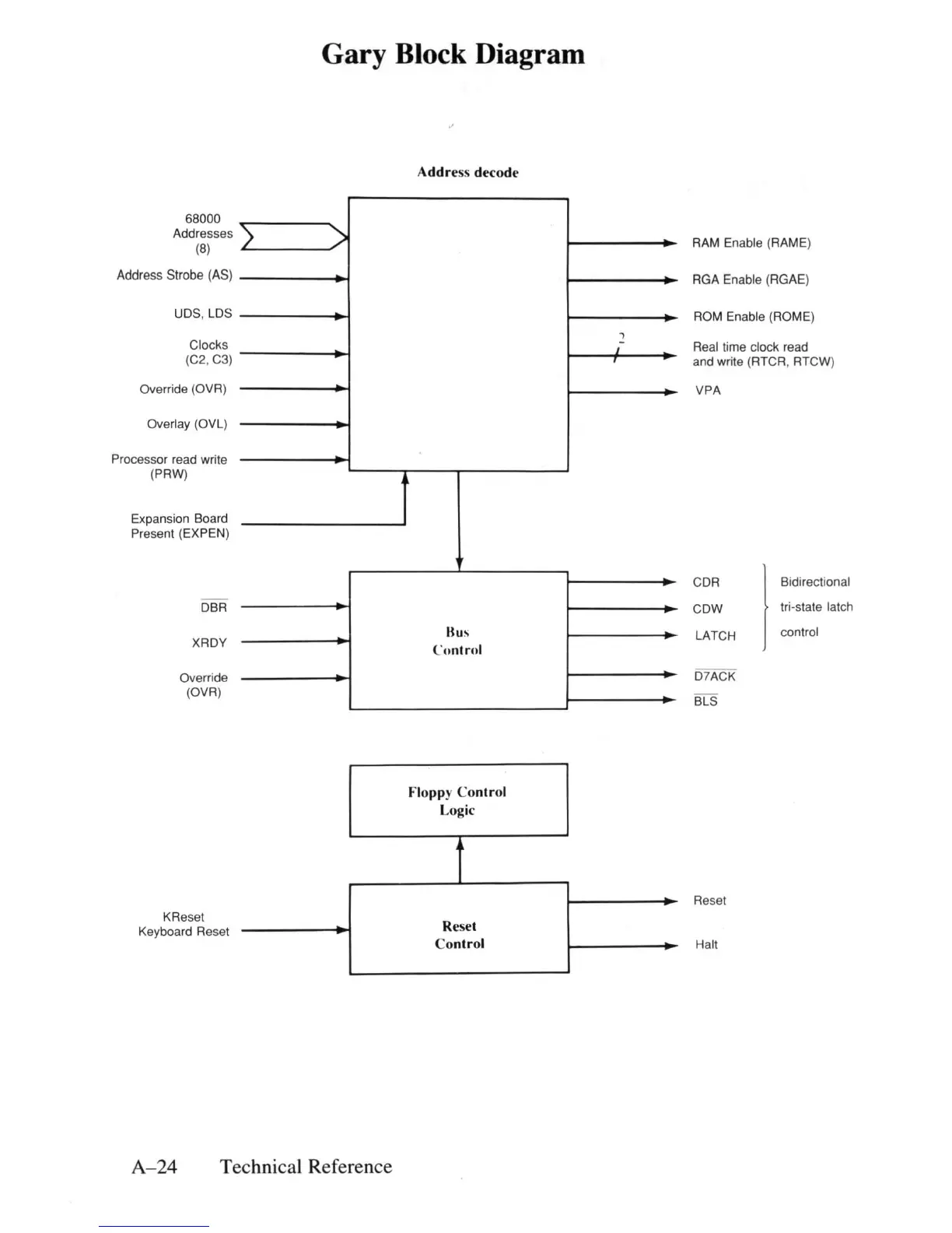
68000
Addresses
(8)
Address Strobe (AS)
UOS, LOS
Clocks
(C2,C3)
Override (OVA)
Overlay (OVL)
Proce
ss
or
read
wr
ite
(PAW)
Expansion Board
Pr
esent (
EX
PEN
)
DBA
XAoy
Override
(OVA)
KAeset
Keyboard Aesel
>
Gary Block Diagram
A
ddr
ess decode
)
1
lIus
Cnnt
...
1
Flo
pp)
' C
ontr
ol
Logic
t
Reset
Co
ntr
ol
A
-2
4
Technical Reference
AAM Enable (AAME)
RGA Enable (RGAE)
AOM Enable (AOME)
1
Aeal time clock read
and write (ATCA, ATCW)
VPA
C
oA
)
Bidirectional
COW
tri
-s
late lalch
LATCH
co
ntrol
o7ACK
BLS
Aesel
Halt

Table of Contents

Related product manuals