EasyManua.ls Logo

Honeywell Gamewell-FCI E3 Series - Cabinet A2, Inner Door to the Backbox Installation

Honeywell Gamewell-FCI E3 Series
190 pages
Print Icon
To Next Page IconTo Next Page
To Next Page IconTo Next Page
To Previous Page IconTo Previous Page
To Previous Page IconTo Previous Page
Loading...
30 E3 Series Installation/Operation Manual P/N 9000-0574:I 11/04/10
Installation Cabinets
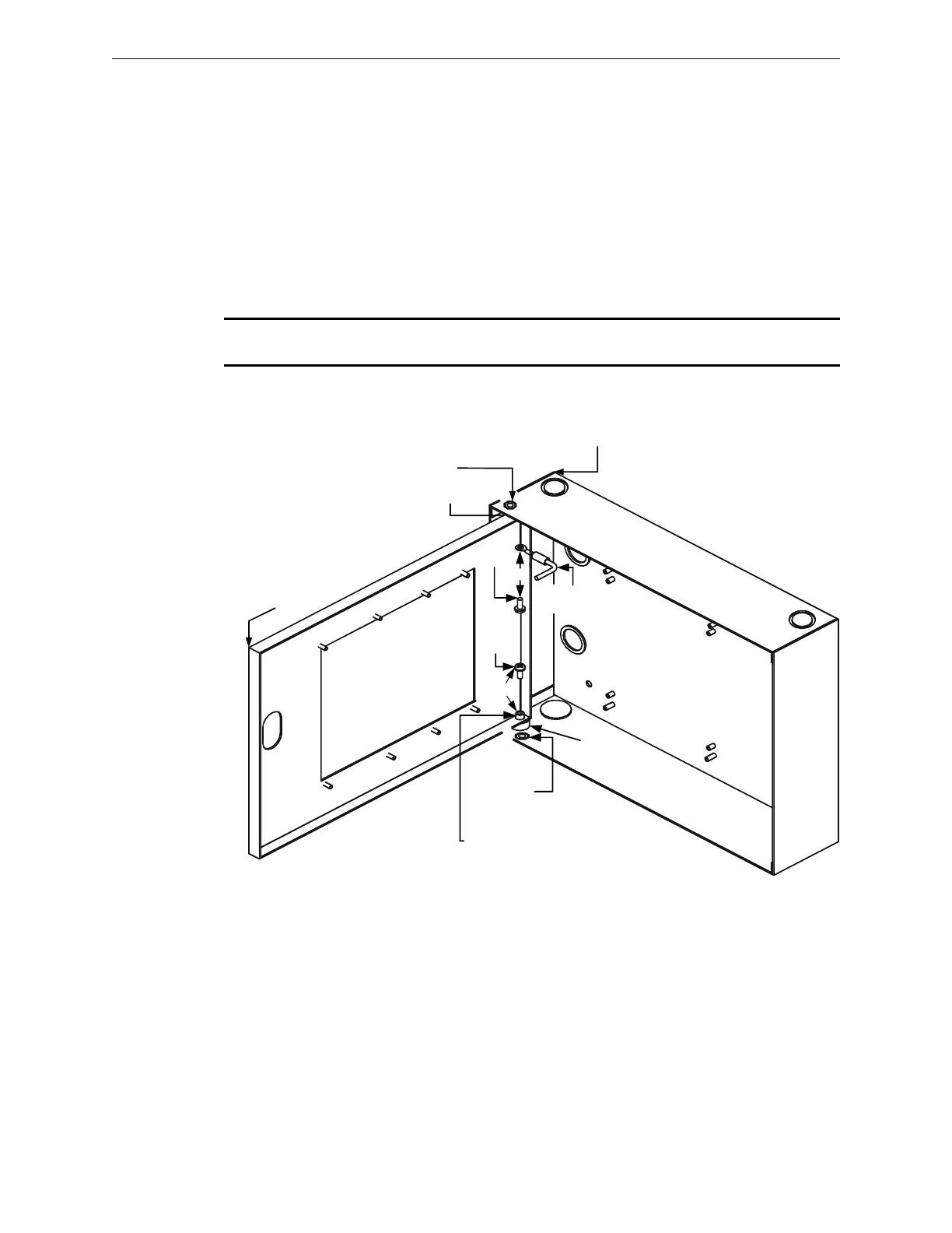
2.5.2.4 Cabinet A2, Inner Door to the Backbox Installation
1. Place the nylon spacer (#10) over the backbox bottom hinge pin as shown in Location 1 of the
figure below.
2. Mount the inner door to the backbox by sliding the inner door, top hinge pin hole onto the
backbox top hinge pin as shown in Location 2.
3. Align the inner door bottom hinge pin hole with the backbox bottom hinge pin.
4. Slide the door over the inner door bottom hinge pin hole on top of the nylon spacer, and secure
using the #8 x .5” screw as shown in Location 2 of the figure below.
5. After the inner door is secured in place, attach the one end of the bonding wire to the top hinge
pin using the #8 x .5” screw as shown in Location 3 of the figure below.
NOTE: For information on the installation of the opposite end of the bonding wire, see Section
2.5.2.5, Step 2, Location 2 of Figure 2.5.2.5.1.
Figure 2.5.2.4.1 Cabinet A2, Inner Door to the Backbox Installation
CABINET A2,
BACKBOX
CABINET A2,
INNER DOOR
BONDING
WIRE
BACKBOX
BOTTOM
HINGE PIN
INNER DOOR
BOTTOM
HINGE PIN HOLE
N
Y
L
O
N
S
P
A
C
E
R
#
1
0
SCREW
#8 x .5"
SCREW
#8 x .5"
3
2
1
BACKBOX TOP
HINGE PIN
INNER DOOR TOP
HINGE PIN HOLE
2
2
3

Table of Contents

Other manuals for Honeywell Gamewell-FCI E3 Series

Related product manuals