EasyManua.ls Logo

Honeywell Gamewell-FCI E3 Series - Cabinet C, AM-50 Extender Plate Installation

Honeywell Gamewell-FCI E3 Series
190 pages
Print Icon
To Next Page IconTo Next Page
To Next Page IconTo Next Page
To Previous Page IconTo Previous Page
To Previous Page IconTo Previous Page
Loading...
E3 Series Installation/Operation Manual P/N 9000-0574:I 11/04/10 73
Cabinets Installation
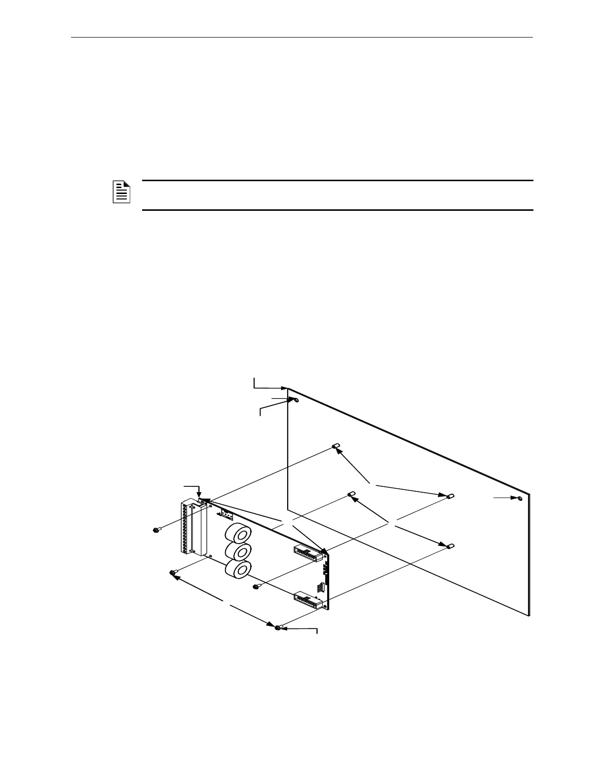
2.5.9.5 Cabinet C, AM-50 Extender Plate Installation
1. The AM-50 Extender Plate is an optional plate that can be installed as an add-on plate to either
the E3-INCC-C Plate or E3-ILI-C plates.
2. Mount the AM-50 Series amplifiers over the screws on the Cabinet C, AM-50 Extender Plate
and secure with four (4), screws (#4-40 x ¼”) in the four-hole mounting pattern as shown in
Location 1 of the figure below.
3. Place the E3-INCC-C plate or E3-ILI-C plate over the AM-50 extender plate and install using
two (2) nuts (#10-32) in the two-hole mounting pattern as shown in Location 2 of the figure
below.
Figure 2.5.9.5.1 Cabinet C, AM-50 Extender Plate Installation
NOTE: Install the FPT-GATE-3 Extender Plate in the space reserved for the batteries. If you have
batteries installed in this location, install the batteries in a separate battery box.
1
A M -5 0
S E R IE S
S C R E W ,
#4 -4 0 X 2 5 L G
P H P D S E M S
2
1
C A B -C , A M -5 0
E X T E N D E R P L A T E
2
N U T , H E X
#10 -32
2 P L A C E S
1
1

Table of Contents

Other manuals for Honeywell Gamewell-FCI E3 Series

Related product manuals