EasyManua.ls Logo

Mazda 2002 6 - Page 447

Mazda 2002 6
1248 pages
Print Icon
To Next Page IconTo Next Page
To Next Page IconTo Next Page
To Previous Page IconTo Previous Page
To Previous Page IconTo Previous Page
Loading...
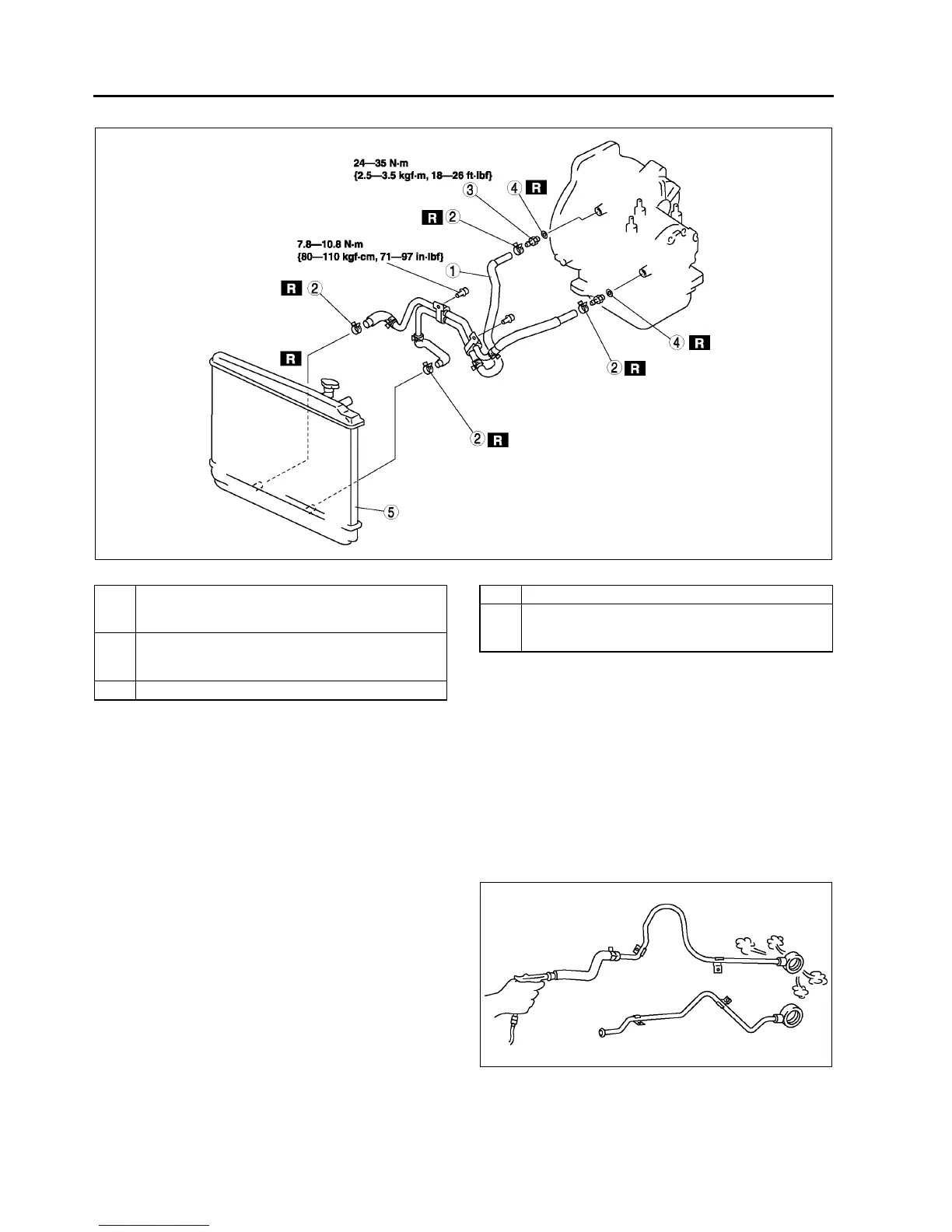
K40
AUTOMATIC TRANSAXLE
WITHOUT OIL COOLER
.
Radiator (In Tank Oil Cooler) Installation Note
1. The automatic transaxle oil cooler flushing must be performed whenever a transaxle is removed for service
because the existing fluid may be contaminated, and to prevent contamination of new fluid.
Note
The flushing must be performed after installation of the overhauled or replacing transaxle.
2. Follow the instructions in the manufacturers publication for flushing operation.
Oil Pipe, Hose Clamp, Oil Hose Installation Note
1. Apply compressed air to cooler-side opening, and
blow any remaining grime and foreign material
from the cooler pipes. Compressed air should be
applied for no less than one minute.
A6E5614W080
1Oil hose
(See K40 Oil Pipe, Hose Clamp, Oil Hose
Installation Note.)
2 Hose clamp
(See K40 Oil Pipe, Hose Clamp, Oil Hose
Installation Note.)
3 Connector bolt
4 O-ring
5 Radiator (in tank oil cooler)
(See K40 Radiator (In Tank Oil Cooler) Installation
Note.)
A6E5614W070

Table of Contents