EasyManua.ls Logo

Mazda 2002 6 - Rear Lateral Link Removal;Installation

Mazda 2002 6
1248 pages
Print Icon
To Next Page IconTo Next Page
To Next Page IconTo Next Page
To Previous Page IconTo Previous Page
To Previous Page IconTo Previous Page
Loading...
REAR SUSPENSION
R33
R
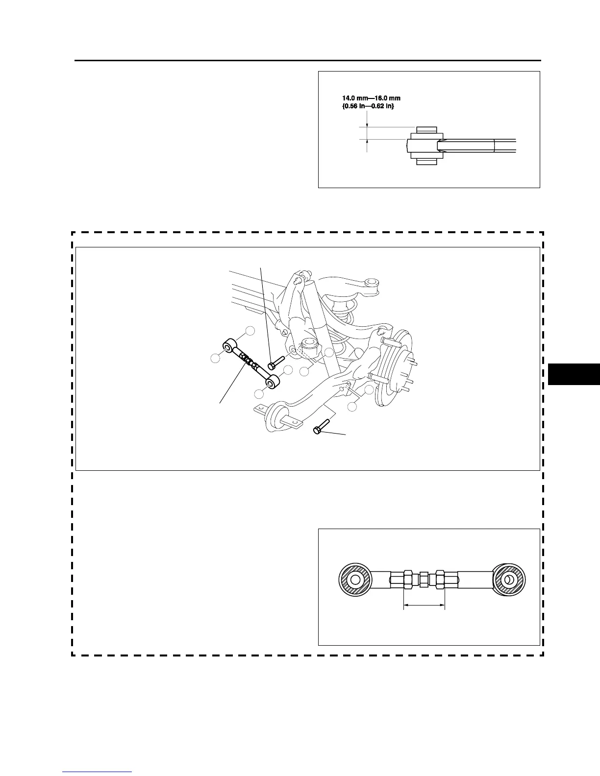
3. Verify that clearance distance AB is 14.0 mm
16.0 mm {0.56 in-0.62 in}.
End Of Sie
REAR LATERAL LINK REMOVAL/INSTALLATION
A6E741628600W01
1. Remove the rear lateral link.
Caution
When working near left rear suspension, avoid any impact to the fuel tank.
2. Measure the length L shown in the figure for
proper installation.
3. Temporarily loosen a locknut of the rear lateral
link.
4. Install the rear lateral link.
5. Inspect the rear wheel alignment.
(See R6 REAR WHEEL ALIGNMENT.)
A6E7416W013
B6U0214W015
A
C
C
A
D
D
B
B
93.1126.4
{9.5012.88, 68.6793.22}
REAR
LATERAL
LINK
N·m {kgf·m, ft·lbf}
93.1126.4
{9.5012.88,
68.6793.22}
B6U0214W014
L

Table of Contents

Other manuals for Mazda 2002 6

Related product manuals