EasyManua.ls Logo

Mazda 2002 6 - Rear Seat Removal;Installation

Mazda 2002 6
1248 pages
Print Icon
To Next Page IconTo Next Page
To Next Page IconTo Next Page
To Previous Page IconTo Previous Page
To Previous Page IconTo Previous Page
Loading...
S110
SEAT
End Of Sie
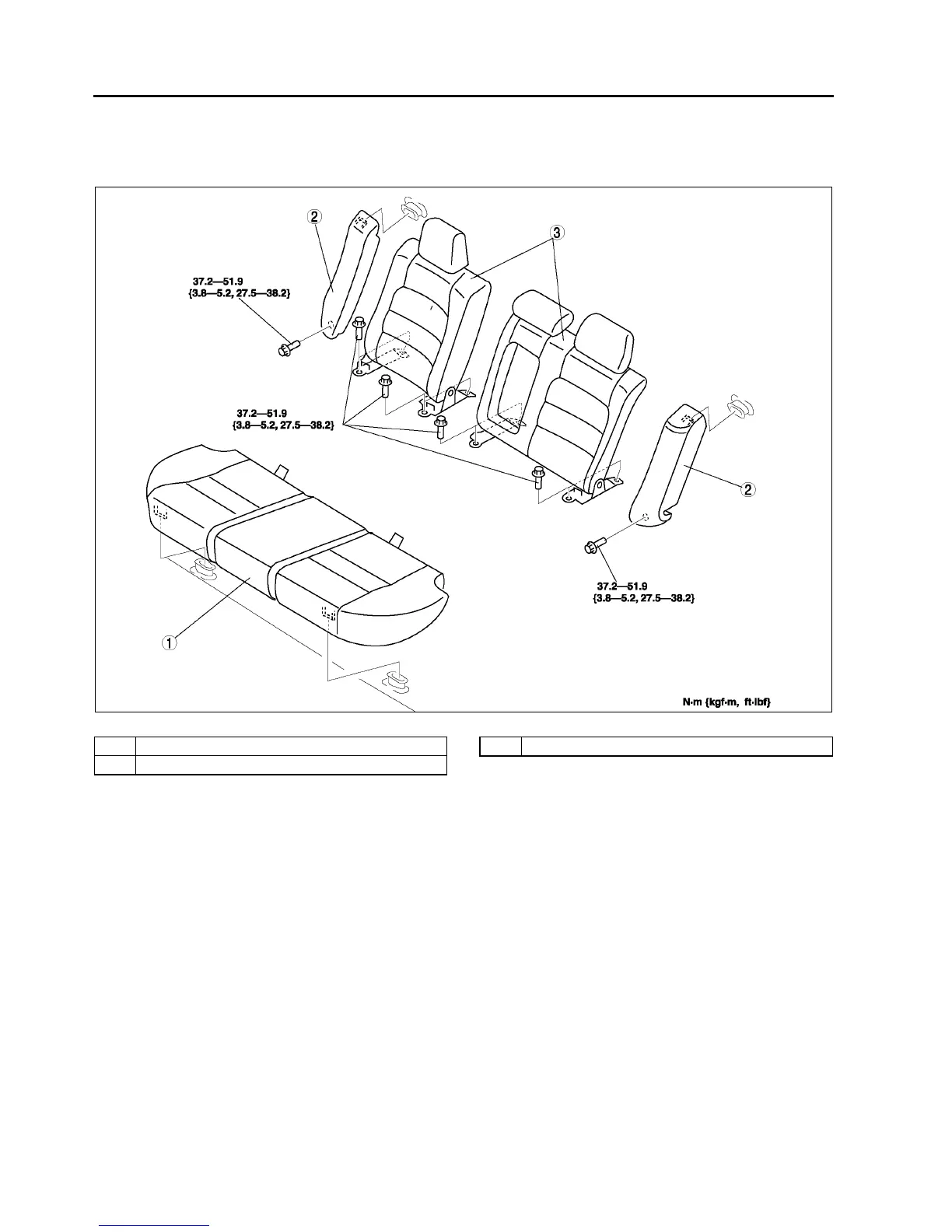
REAR SEAT REMOVAL/INSTALLATION
A6E775257200W01
4SD
1. Remove in the order indicated in the table.
2. Install in the reverse order of removal.
.
A6E7752W006
1 Rear seat cushion
2 Rear side seat
3 Rear seat back

Table of Contents

Other manuals for Mazda 2002 6

Related product manuals