EasyManua.ls Logo

MacDon M155 2022 - Boosting Battery; Adding Electrolyte to Batteries

MacDon M155 2022
526 pages
Print Icon
To Next Page IconTo Next Page
To Next Page IconTo Next Page
To Previous Page IconTo Previous Page
To Previous Page IconTo Previous Page
Loading...
215676 389 Revision A
Boosting Battery
Boosting the windrowers batteries involves connecting the batteries to another vehicles battery system. To perform this
procedure safely, follow these recommendations.
CAUTION
The gas emitted by batteries is explosive. Keep sparks and flames away from batteries.
Wear protective eyewear when using a booster battery.
Ensure that bystanders are clear of the machine before starting the engine. Start the engine from the operators
station.
To boost the batteries:
1. Open the hood. For instructions, refer to 5.3.1 Opening Hood Lower Position, page 316.
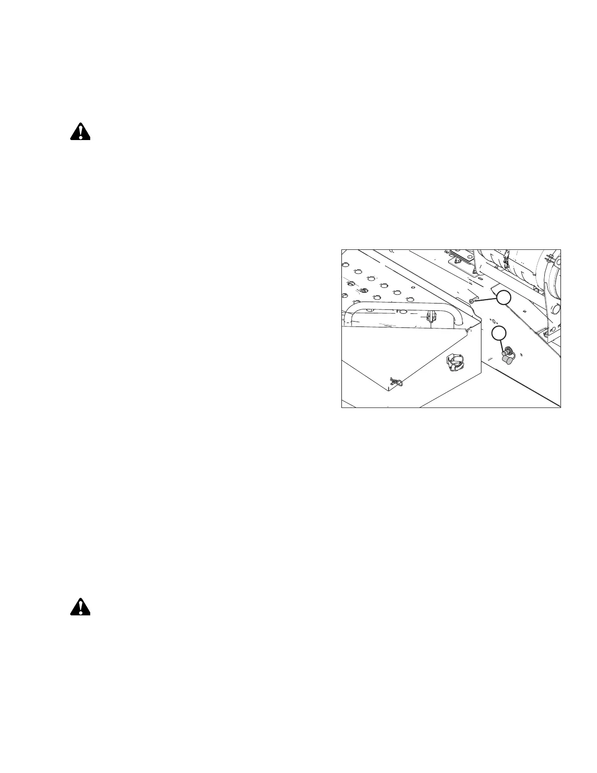
1007877
A
B
Figure 5.124: Battery Boost Posts
2. Remove the red rubber cover from boost post (A) on the
windrower frame.
3. Attach one end of the battery cable to the positive (+)
terminal of the booster battery, and the other end to
positive boost post (A) on the windrower frame.
4. Attach one end of the second cable to the negative ()
terminal of the booster battery, and the other end to
ground post (B) on the windrower frame.
5. Start the engine.
6. After the engine starts, disconnect the cable from
windrower ground post (B) first, and then disconnect the
other end of the cable from the negative () terminal of the
booster battery.
7. Disconnect the cable from the positive (+) terminal of the
booster battery, and then disconnect the other end of the
cable from positive boost post (A) on the windrower frame.
8. Replace the rubber cover on boost post (A).
9. Close the hood. For instructions, refer to 5.3.2 Closing Hood
Lower Position, page 317.
Adding Electrolyte to Batteries
The windrowers batteries are the serviceable type, which means that electrolyte fluid can be added to the batterys cells,
if needed.
CAUTION
Do NOT attempt to service a battery unless you have the proper equipment and training for the task. Have the
windrowers batteries serviced by a MacDon Dealer.
MAINTENANCE AND SERVICING

Table of Contents

Related product manuals